| 2025-10-07 11:15:46 |
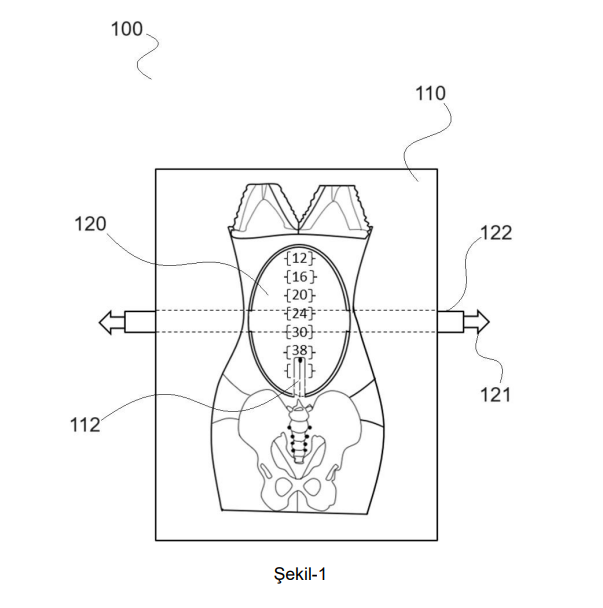
kemik plağı |
-7- |
koç üniversitesi |
koç üniversitesi |
2025 |
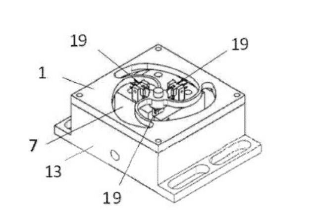
Kemik plağı
|
Healthcare – Sağlık Hizmeti
|
Koç Üniversitesi
|
Patent/Faydalı Model Tescil Edildi |
Görüntülemek için tıklayınız |
| 2025-10-07 11:30:17 |
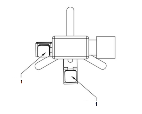
foto kuplörlü temas kuvveti sensoru ile donatılı parmak ünitelerine sahip yapay el |
-7- |
koç üniversitesi |
koç üniversitesi |
2025 |
FOTO KUPLÖRLÜ TEMAS KUVVETİ SENSORU İLE DONATILI PARMAK ÜNİTELERİNE SAHİP YAPAY EL
|
Healthcare – Sağlık Hizmeti
|
Koç Üniversitesi
|
Patent/Faydalı Model Tescil Edildi |
Görüntülemek için tıklayınız |
| 2025-10-07 11:43:24 |
statik ve dinamik sürtünme katsayılarını ölçmek için kuvvet sensörü |
-11- |
koç üniversitesi |
koç üniversitesi |
2025 |
STATİK VE DİNAMİK SÜRTÜNME KATSAYILARINI ÖLÇMEK İÇİN KUVVET SENSÖRÜ
|
Manufacturing – İmalat
|
Koç Üniversitesi
|
Patent/Faydalı Model Tescil Edildi |
Görüntülemek için tıklayınız |
| 2025-10-07 11:51:55 |
ışık kesiciler kullanılan yekpare eğilme yapısı esaslı, üç eksenli dinamometre |
-11- |
koç üniversitesi |
koç üniversitesi |
2025 |
IŞIK KESİCİLER KULLANILAN YEKPARE EĞİLME YAPISI ESASLI, ÜÇ EKSENLİ DİNAMOMETRE
|
Manufacturing – İmalat
|
Koç Üniversitesi
|
Patent/Faydalı Model Tescil Edildi |
Görüntülemek için tıklayınız |
| 2025-10-10 15:37:09 |
protez el |
-7- |
koç üniversitesi |
koç üniversitesi |
2025 |
Protez El
|
Healthcare – Sağlık Hizmeti
|
Koç Üniversitesi
|
Patent Başvurusu Yapıldı |
Görüntülemek için tıklayınız |
| 2025-10-10 16:26:37 |
buz birikimini izlemeye ve buzlanmayı gidermeye yönelik bir aparat ve bir yöntem |
-2- |
koç üniversitesi |
koç üniversitesi |
2025 |
BUZ BİRİKİMİNİ İZLEMEYE VE BUZLANMAYI GİDERMEYE YÖNELİK BİR APARAT VE BİR YÖNTEM
|
Electronics – Elektronik
|
Koç Üniversitesi
|
Patent/Faydalı Model Tescil Edildi |
Görüntülemek için tıklayınız |
| 2025-10-10 16:49:56 |
delme çubukları için bir manyetoreolojik akışkan damperi |
-12- |
koç üniversitesi |
koç üniversitesi |
2025 |
DELME ÇUBUKLARI İÇİN BİR MANYETOREOLOJİK AKIŞKAN DAMPERİ
|
Materials – Malzemeler
|
Koç Üniversitesi
|
Patent/Faydalı Model Tescil Edildi |
Görüntülemek için tıklayınız |
| 2025-10-12 18:31:09 |
intraperitoneal infüzyon pompa sistemi |
-7- |
dokuz eylül üniversitesi teknoloji transfer ofisi |
dokuz eylül üniversitesi teknoloji transfer ofisi |
2025 |
İntraperitoneal İnfüzyon Pompa Sistemi
|
Healthcare – Sağlık Hizmeti
|
Dokuz Eylül Üniversitesi Teknoloji Transfer Ofisi
|
Patent Başvurusu Yapıldı |
Görüntülemek için tıklayınız |
| 2025-10-13 17:26:27 |
indiyum geri kazanım yöntemi |
-2- |
odtü teknoloji transfer ofisi |
odtü teknoloji transfer ofisi |
2025 |
İNDİYUM GERİ KAZANIM YÖNTEMİ
|
Electronics – Elektronik
|
ODTÜ Teknoloji Transfer Ofisi
|
Patent Başvurusu Yapıldı |
Görüntülemek için tıklayınız |
| 2025-10-13 17:32:40 |
metal nanotel kaplamalı ısıtılabilir kumaşlar |
-12- |
odtü teknoloji transfer ofisi |
odtü teknoloji transfer ofisi |
2025 |
Metal Nanotel Kaplamalı Isıtılabilir Kumaşlar
|
Materials – Malzemeler
|
ODTÜ Teknoloji Transfer Ofisi
|
Patent/Faydalı Model Tescil Edildi |
Görüntülemek için tıklayınız |
| 2025-10-13 17:38:22 |
kamusal/toplu yaşam alanları için ayrımsız erişim sistemi |
-7- |
odtü teknoloji transfer ofisi |
odtü teknoloji transfer ofisi |
2025 |
Kamusal/Toplu Yaşam Alanları için Ayrımsız Erişim Sistemi
|
Healthcare – Sağlık Hizmeti
|
ODTÜ Teknoloji Transfer Ofisi
|
Patent/Faydalı Model Tescil Edildi |
Görüntülemek için tıklayınız |
| 2025-10-13 17:40:58 |
mems nöristör |
-2- |
odtü teknoloji transfer ofisi |
odtü teknoloji transfer ofisi |
2025 |
MEMS Nöristör
|
Electronics – Elektronik
|
ODTÜ Teknoloji Transfer Ofisi
|
Patent Başvurusu Yapıldı |
Görüntülemek için tıklayınız |
| 2025-10-13 17:43:15 |
eş alttaş üzerinde yalnızca p1 ve p3 çizgileriyle, p2 çizgisi kullanılmadan güneş modül üretimi |
-4- |
odtü teknoloji transfer ofisi |
odtü teknoloji transfer ofisi |
2025 |
Eş alttaş üzerinde yalnızca P1 ve P3 çizgileriyle, P2 çizgisi kullanılmadan güneş modül üretimi
|
Environment, Clean Air & Water – Çevre, Temiz Hava ve Su
|
ODTÜ Teknoloji Transfer Ofisi
|
Patent Başvurusu Yapıldı |
Görüntülemek için tıklayınız |
| 2025-10-13 17:46:13 |
boyun incinmelerinin incelenebileceği bir boyun modeli |
-7- |
odtü teknoloji transfer ofisi |
odtü teknoloji transfer ofisi |
2025 |
Boyun İncinmelerinin İncelenebileceği Bir Boyun Modeli
|
Healthcare – Sağlık Hizmeti
|
ODTÜ Teknoloji Transfer Ofisi
|
Patent/Faydalı Model Tescil Edildi |
Görüntülemek için tıklayınız |
| 2025-10-13 17:49:14 |
beyin kanamasının tespit edilmesine yönelik mems havada çalışan ultrasonik çevirgeç sistemi |
-7- |
odtü teknoloji transfer ofisi |
odtü teknoloji transfer ofisi |
2025 |
BEYİN KANAMASININ TESPİT EDİLMESİNE YÖNELİK MEMS HAVADA ÇALIŞAN ULTRASONİK ÇEVİRGEÇ SİSTEMİ
|
Healthcare – Sağlık Hizmeti
|
ODTÜ Teknoloji Transfer Ofisi
|
Patent/Faydalı Model Tescil Edildi |
Görüntülemek için tıklayınız |
| 2025-10-13 17:52:27 |
doppler kayması temelli dağıtık drone tespit sistemi |
-2- |
odtü teknoloji transfer ofisi |
odtü teknoloji transfer ofisi |
2025 |
DOPPLER KAYMASI TEMELLİ DAĞITIK DRONE TESPİT SİSTEMİ
|
Electronics – Elektronik
|
ODTÜ Teknoloji Transfer Ofisi
|
Patent/Faydalı Model Tescil Edildi |
Görüntülemek için tıklayınız |
| 2025-10-13 17:55:14 |
ivmerad – akıllı aktif sayaç ve çevrimiçi izleme sistemi |
-2- |
odtü teknoloji transfer ofisi |
odtü teknoloji transfer ofisi |
2025 |
İVMERAD – Akıllı Aktif Sayaç ve Çevrimiçi İzleme Sistemi
|
Electronics – Elektronik
|
ODTÜ Teknoloji Transfer Ofisi
|
Patent Başvurusu Yapıldı |
Görüntülemek için tıklayınız |
| 2025-10-13 21:49:30 |
dönel makinalarda aktif dengeleme sistemi |
-11- |
dokuz eylül üniversitesi teknoloji transfer ofisi |
dokuz eylül üniversitesi teknoloji transfer ofisi |
2025 |
Dönel Makinalarda Aktif Dengeleme Sistemi
|
Manufacturing – İmalat
|
Dokuz Eylül Üniversitesi Teknoloji Transfer Ofisi
|
Patent Başvurusu Yapıldı |
Görüntülemek için tıklayınız |
| 2025-10-13 22:00:38 |
alüminyum – turmalin metal matris kompozit malzeme |
-12- |
dokuz eylül üniversitesi teknoloji transfer ofisi |
dokuz eylül üniversitesi teknoloji transfer ofisi |
2025 |
Alüminyum – Turmalin Metal Matris Kompozit Malzeme
|
Materials – Malzemeler
|
Dokuz Eylül Üniversitesi Teknoloji Transfer Ofisi
|
Patent Başvurusu Yapıldı |
Görüntülemek için tıklayınız |
| 2025-10-13 22:13:26 |
yenilenebilir endüstriyel atıktan ekonomik biyosürfaktan üretimi |
-1- |
dokuz eylül üniversitesi teknoloji transfer ofisi |
dokuz eylül üniversitesi teknoloji transfer ofisi |
2025 |
Yenilenebilir Endüstriyel Atıktan Ekonomik Biyosürfaktan Üretimi
|
Chemicals – Kimyasallar
|
Dokuz Eylül Üniversitesi Teknoloji Transfer Ofisi
|
Patent Başvurusu Yapıldı |
Görüntülemek için tıklayınız |
| 2025-10-13 22:21:52 |
deniz atıkları kullanılarak nanoparçacık katalizli hidrojen gazı üretimi |
-9- |
dokuz eylül üniversitesi teknoloji transfer ofisi |
dokuz eylül üniversitesi teknoloji transfer ofisi |
2025 |
Deniz Atıkları Kullanılarak Nanoparçacık Katalizli Hidrojen Gazı Üretimi
|
Life Sciences – Yaşam Bilimleri
|
Dokuz Eylül Üniversitesi Teknoloji Transfer Ofisi
|
Patent Başvurusu Yapıldı |
Görüntülemek için tıklayınız |
| 2025-10-13 22:38:32 |
sanal gerçeklik yoluyla sigara bırakma tedavisi |
-7- |
dokuz eylül üniversitesi teknoloji transfer ofisi |
dokuz eylül üniversitesi teknoloji transfer ofisi |
2025 |
Sanal Gerçeklik Yoluyla Sigara Bırakma Tedavisi
|
Healthcare – Sağlık Hizmeti
|
Dokuz Eylül Üniversitesi Teknoloji Transfer Ofisi
|
Patent/Faydalı Model Tescil Edildi |
Görüntülemek için tıklayınız |
| 2025-10-13 22:50:24 |
balık aglarına antifouling özellik kazandırılmasında kapsül teknolojisi |
-12- |
dokuz eylül üniversitesi teknoloji transfer ofisi |
dokuz eylül üniversitesi teknoloji transfer ofisi |
2025 |
Balık Aglarına Antifouling Özellik Kazandırılmasında Kapsül Teknolojisi
|
Materials – Malzemeler
|
Dokuz Eylül Üniversitesi Teknoloji Transfer Ofisi
|
Patent/Faydalı Model Tescil Edildi |
Görüntülemek için tıklayınız |
| 2025-10-13 22:55:41 |
çarpısmada çevre felaketlerini önleyen bir gemi konstrüksiyonu |
-11- |
dokuz eylül üniversitesi teknoloji transfer ofisi |
dokuz eylül üniversitesi teknoloji transfer ofisi |
2025 |
Çarpısmada Çevre Felaketlerini Önleyen Bir Gemi Konstrüksiyonu
|
Manufacturing – İmalat
|
Dokuz Eylül Üniversitesi Teknoloji Transfer Ofisi
|
Patent/Faydalı Model Tescil Edildi |
Görüntülemek için tıklayınız |
| 2025-10-13 22:59:03 |
ıdh mutasyonu kaynaklı 2hg metabolitini tespit etmek üzere fonksiyonellesyitilmis bir biyosensör |
-9- |
dokuz eylül üniversitesi teknoloji transfer ofisi |
dokuz eylül üniversitesi teknoloji transfer ofisi |
2025 |
IDH Mutasyonu Kaynaklı 2HG Metabolitini Tespit Etmek Üzere Fonksiyonellesyitilmis Bir Biyosensör
|
Life Sciences – Yaşam Bilimleri
|
Dokuz Eylül Üniversitesi Teknoloji Transfer Ofisi
|
Patent Başvurusu Yapıldı |
Görüntülemek için tıklayınız |
| 2025-10-13 23:06:08 |
altın yüklü aktif karbon analizleri ıçin sertifikalı referans malzeme |
-12- |
dokuz eylül üniversitesi teknoloji transfer ofisi |
dokuz eylül üniversitesi teknoloji transfer ofisi |
2025 |
Altın Yüklü Aktif Karbon Analizleri Için Sertifikalı Referans Malzeme
|
Materials – Malzemeler
|
Dokuz Eylül Üniversitesi Teknoloji Transfer Ofisi
|
Patent Başvurusu Yapıldı |
Görüntülemek için tıklayınız |
| 2025-10-14 10:33:34 |
magnus etkisi prensibi ile çalışan teleskopik yalpa önleyici sistem |
-10- |
1773 itü teknopark tknoloji transfer ofisi |
1773 itü teknopark tknoloji transfer ofisi |
2025 |
MAGNUS ETKİSİ PRENSİBİ İLE ÇALIŞAN TELESKOPİK YALPA ÖNLEYİCİ SİSTEM
|
Logistics – Lojistik
|
1773 İTÜ TEKNOPARK TKNOLOJİ TRANSFER OFİSİ
|
Patent Başvurusu Yapıldı |
Görüntülemek için tıklayınız |
| 2025-10-14 10:40:26 |
tekstil tabanlı bir gerilebilir taraklı sensör ve üretim metodu |
-11- |
1773 itü teknopark tknoloji transfer ofisi |
1773 itü teknopark tknoloji transfer ofisi |
2025 |
TEKSTİL TABANLI BİR GERİLEBİLİR TARAKLI SENSÖR VE ÜRETİM METODU
|
Manufacturing – İmalat
|
1773 İTÜ TEKNOPARK TKNOLOJİ TRANSFER OFİSİ
|
Patent Başvurusu Yapıldı |
Görüntülemek için tıklayınız |
| 2025-10-14 10:50:26 |
kara robotları için gerçek konum ve yönelim elde etme cihazı |
-2- |
1773 itü teknopark tknoloji transfer ofisi |
1773 itü teknopark tknoloji transfer ofisi |
2025 |
Kara Robotları İçin Gerçek Konum ve Yönelim Elde Etme Cihazı
|
Electronics – Elektronik
|
1773 İTÜ TEKNOPARK TKNOLOJİ TRANSFER OFİSİ
|
Patent/Faydalı Model Tescil Edildi |
Görüntülemek için tıklayınız |
| 2025-10-14 11:00:22 |
histamin h1-reseptör antagonistlerinin mekanokimyasal sentezi |
-7- |
bilkent üniversitesi teknoloji transfer ofisi |
bilkent üniversitesi teknoloji transfer ofisi |
2025 |
Histamin H1-Reseptör Antagonistlerinin Mekanokimyasal Sentezi
|
Healthcare – Sağlık Hizmeti
|
Bilkent Üniversitesi Teknoloji Transfer Ofisi
|
Patent Başvurusu Yapıldı |
Görüntülemek için tıklayınız |
| 2025-10-14 11:00:55 |
geliştirilmiş geçirimsiz saydam laminer zemin konteyneri |
-6- |
1773 itü teknopark tknoloji transfer ofisi |
1773 itü teknopark tknoloji transfer ofisi |
2025 |
Geliştirilmiş Geçirimsiz Saydam Laminer Zemin Konteyneri
|
Green Building – Ekolojik Binalar
|
1773 İTÜ TEKNOPARK TKNOLOJİ TRANSFER OFİSİ
|
Patent/Faydalı Model Tescil Edildi |
Görüntülemek için tıklayınız |
| 2025-10-14 11:22:19 |
akımla kendini tahrik eden pompa |
-4- |
1773 itü teknopark tknoloji transfer ofisi |
1773 itü teknopark tknoloji transfer ofisi |
2025 |
Akımla kendini tahrik eden pompa
|
Environment, Clean Air & Water – Çevre, Temiz Hava ve Su
|
1773 İTÜ TEKNOPARK TKNOLOJİ TRANSFER OFİSİ
|
Patent/Faydalı Model Tescil Edildi |
Görüntülemek için tıklayınız |
| 2025-10-14 11:24:13 |
mıknatıs bağlantılı, değişken yay adımlı, sıkıştırma kuvveti miktarı ölçebilen yumuşak yay şekilli sensör ve sensördeki verininsinyale dönüşüm yöntemi |
-2- |
bilkent üniversitesi teknoloji transfer ofisi |
bilkent üniversitesi teknoloji transfer ofisi |
2025 |
Mıknatıs bağlantılı, değişken yay adımlı, sıkıştırma kuvveti miktarı ölçebilen yumuşak yay şekilli sensör ve sensördeki verininsinyale dönüşüm yöntemi
|
Electronics – Elektronik
|
Bilkent Üniversitesi Teknoloji Transfer Ofisi
|
Patent Başvurusu Yapıldı |
Görüntülemek için tıklayınız |
| 2025-10-14 11:32:31 |
optik okumalı vizkozite ölçen mikrosütun tabanlı mikroakışkan çip |
-7- |
1773 itü teknopark tknoloji transfer ofisi |
1773 itü teknopark tknoloji transfer ofisi |
2025 |
Optik okumalı vizkozite ölçen mikrosütun tabanlı mikroakışkan çip
|
Healthcare – Sağlık Hizmeti
|
1773 İTÜ TEKNOPARK TKNOLOJİ TRANSFER OFİSİ
|
Patent/Faydalı Model Tescil Edildi |
Görüntülemek için tıklayınız |
| 2025-10-14 11:42:29 |
lazer yardımlı çok seviyeli mikro kanal üretim yöntemi |
-2- |
bilkent üniversitesi teknoloji transfer ofisi |
bilkent üniversitesi teknoloji transfer ofisi |
2025 |
Lazer Yardımlı Çok Seviyeli Mikro Kanal Üretim Yöntemi
|
Electronics – Elektronik
|
Bilkent Üniversitesi Teknoloji Transfer Ofisi
|
Patent/Faydalı Model Tescil Edildi |
Görüntülemek için tıklayınız |
| 2025-10-14 11:50:25 |
yaylı universal darbe deney cihazı |
-12- |
1773 itü teknopark tknoloji transfer ofisi |
1773 itü teknopark tknoloji transfer ofisi |
2025 |
Yaylı Universal Darbe Deney Cihazı
|
Materials – Malzemeler
|
1773 İTÜ TEKNOPARK TKNOLOJİ TRANSFER OFİSİ
|
Patent/Faydalı Model Tescil Edildi |
Görüntülemek için tıklayınız |
| 2025-10-14 11:57:36 |
blockchain uzlaşma yöntemi |
-8- |
1773 itü teknopark tknoloji transfer ofisi |
1773 itü teknopark tknoloji transfer ofisi |
2025 |
Blockchain Uzlaşma Yöntemi
|
Infocomm – Bilişim
|
1773 İTÜ TEKNOPARK TKNOLOJİ TRANSFER OFİSİ
|
Patent/Faydalı Model Tescil Edildi |
Görüntülemek için tıklayınız |
| 2025-10-14 12:07:48 |
batarya paketleri için bir kısa devre koruma sistemi |
-2- |
1773 itü teknopark tknoloji transfer ofisi |
1773 itü teknopark tknoloji transfer ofisi |
2025 |
BATARYA PAKETLERİ İÇİN BİR KISA DEVRE KORUMA SİSTEMİ
|
Electronics – Elektronik
|
1773 İTÜ TEKNOPARK TKNOLOJİ TRANSFER OFİSİ
|
Patent/Faydalı Model Tescil Edildi |
Görüntülemek için tıklayınız |
| 2025-10-14 12:16:51 |
peynir altısuyu bileşenlerinin fraksiyonu ile biyoplastik üretimi ve biyobozunur/biyouyumlu membran üretim yöntemi |
-4- |
1773 itü teknopark tknoloji transfer ofisi |
1773 itü teknopark tknoloji transfer ofisi |
2025 |
PEYNİR ALTISUYU BİLEŞENLERİNİN FRAKSİYONU İLE BİYOPLASTİK ÜRETİMİ VE BİYOBOZUNUR/BİYOUYUMLU MEMBRAN ÜRETİM YÖNTEMİ
|
Environment, Clean Air & Water – Çevre, Temiz Hava ve Su
|
1773 İTÜ TEKNOPARK TKNOLOJİ TRANSFER OFİSİ
|
Patent/Faydalı Model Tescil Edildi |
Görüntülemek için tıklayınız |
| 2025-10-14 12:20:56 |
meme kanseri metastaza bağlı tanı ve takip kiti |
-7- |
1773 itü teknopark tknoloji transfer ofisi |
1773 itü teknopark tknoloji transfer ofisi |
2025 |
Meme kanseri metastaza bağlı tanı ve takip kiti
|
Healthcare – Sağlık Hizmeti
|
1773 İTÜ TEKNOPARK TKNOLOJİ TRANSFER OFİSİ
|
Patent/Faydalı Model Tescil Edildi |
Görüntülemek için tıklayınız |
| 2025-10-15 11:43:49 |
kontrol edilebilir bir yapay el sistemi |
-7- |
özyeğin üniversitesi |
özyeğin üniversitesi |
2025 |
KONTROL EDİLEBİLİR BİR YAPAY EL SİSTEMİ
|
Healthcare – Sağlık Hizmeti
|
Özyeğin Üniversitesi
|
Patent/Faydalı Model Tescil Edildi |
Görüntülemek için tıklayınız |
| 2025-10-15 12:17:04 |
2 serbestlik dereceli protez bilek yapılanması |
-7- |
özyeğin üniversitesi |
özyeğin üniversitesi |
2025 |
2 SERBESTLİK DERECELİ PROTEZ BİLEK YAPILANMASI
|
Healthcare – Sağlık Hizmeti
|
Özyeğin Üniversitesi
|
Patent/Faydalı Model Tescil Edildi |
Görüntülemek için tıklayınız |
| 2025-10-15 12:24:25 |
bir robotik el protezinde yenilik |
-7- |
özyeğin üniversitesi |
özyeğin üniversitesi |
2025 |
BİR ROBOTİK EL PROTEZİNDE YENİLİK
|
Healthcare – Sağlık Hizmeti
|
Özyeğin Üniversitesi
|
Patent Başvurusu Yapıldı |
Görüntülemek için tıklayınız |
| 2025-10-15 12:28:02 |
bir el protezi |
-7- |
özyeğin üniversitesi |
özyeğin üniversitesi |
2025 |
BİR EL PROTEZİ
|
Healthcare – Sağlık Hizmeti
|
Özyeğin Üniversitesi
|
Patent/Faydalı Model Tescil Edildi |
Görüntülemek için tıklayınız |
| 2025-10-15 12:35:57 |
bir robotik diz ünitesi |
-7- |
özyeğin üniversitesi |
özyeğin üniversitesi |
2025 |
BİR ROBOTİK DİZ ÜNİTESİ
|
Healthcare – Sağlık Hizmeti
|
Özyeğin Üniversitesi
|
Patent/Faydalı Model Tescil Edildi |
Görüntülemek için tıklayınız |
| 2025-10-15 14:41:05 |
şanzıman alt sistemlerinden geri kazanılan kinetik enerji kullanılarak elektrikli araçların iklimlendirilmesine yönelik sistem ve yöntem |
-3- |
sunum sabancı üniversitesi nanoteknoloji araştırma ve uygulama merkezi |
sunum sabancı üniversitesi nanoteknoloji araştırma ve uygulama merkezi |
2025 |
Şanzıman Alt Sistemlerinden Geri Kazanılan Kinetik Enerji Kullanılarak Elektrikli Araçların İklimlendirilmesine Yönelik Sistem Ve Yöntem
|
Energy – Enerji
|
SUNUM Sabancı Üniversitesi Nanoteknoloji Araştırma ve Uygulama Merkezi
|
Patent/Faydalı Model Tescil Edildi |
Görüntülemek için tıklayınız |
| 2025-10-15 14:44:40 |
batarya soğutma uygulamalarında kullanılmak üzere bir termal düzenleme sistemi ve yöntemi |
-3- |
sunum sabancı üniversitesi nanoteknoloji araştırma ve uygulama merkezi |
sunum sabancı üniversitesi nanoteknoloji araştırma ve uygulama merkezi |
2025 |
Batarya Soğutma Uygulamalarında Kullanılmak Üzere Bir Termal Düzenleme Sistemi Ve Yöntemi
|
Energy – Enerji
|
SUNUM Sabancı Üniversitesi Nanoteknoloji Araştırma ve Uygulama Merkezi
|
Patent Başvurusu Yapıldı |
Görüntülemek için tıklayınız |
| 2025-10-15 14:48:27 |
hava filtrelerinde fototermal ajanların kullanımı |
-4- |
sunum sabancı üniversitesi nanoteknoloji araştırma ve uygulama merkezi |
sunum sabancı üniversitesi nanoteknoloji araştırma ve uygulama merkezi |
2025 |
Hava Filtrelerinde Fototermal Ajanların Kullanımı
|
Environment, Clean Air & Water – Çevre, Temiz Hava ve Su
|
SUNUM Sabancı Üniversitesi Nanoteknoloji Araştırma ve Uygulama Merkezi
|
Patent Başvurusu Yapıldı |
Görüntülemek için tıklayınız |
| 2025-10-15 14:51:33 |
faz değişim malzemesi içeren polimerik bileşim |
-5- |
sunum sabancı üniversitesi nanoteknoloji araştırma ve uygulama merkezi |
sunum sabancı üniversitesi nanoteknoloji araştırma ve uygulama merkezi |
2025 |
Faz Değişim Malzemesi İçeren Polimerik Bileşim
|
Foods – Gıdalar
|
SUNUM Sabancı Üniversitesi Nanoteknoloji Araştırma ve Uygulama Merkezi
|
Patent Başvurusu Yapıldı |
Görüntülemek için tıklayınız |
| 2025-10-15 14:55:53 |
fototermal özellik gösteren polimerik bir hibrit malzeme ve bunun üretim yöntemi |
-12- |
sunum sabancı üniversitesi nanoteknoloji araştırma ve uygulama merkezi |
sunum sabancı üniversitesi nanoteknoloji araştırma ve uygulama merkezi |
2025 |
Fototermal Özellik Gösteren Polimerik Bir Hibrit Malzeme ve Bunun Üretim Yöntemi
|
Materials – Malzemeler
|
SUNUM Sabancı Üniversitesi Nanoteknoloji Araştırma ve Uygulama Merkezi
|
Patent/Faydalı Model Tescil Edildi |
Görüntülemek için tıklayınız |
| 2025-10-15 15:28:34 |
gıdaların tazeliğini korumak için bir polimerik malzeme |
-5- |
sunum sabancı üniversitesi nanoteknoloji araştırma ve uygulama merkezi |
sunum sabancı üniversitesi nanoteknoloji araştırma ve uygulama merkezi |
2025 |
Gıdaların Tazeliğini Korumak İçin Bir Polimerik Malzeme
|
Foods – Gıdalar
|
SUNUM Sabancı Üniversitesi Nanoteknoloji Araştırma ve Uygulama Merkezi
|
Patent Başvurusu Yapıldı |
Görüntülemek için tıklayınız |
| 2025-10-15 15:52:42 |
a new method to generate vigorous cavitation through the microscale device at low pressure for wastewater treatment |
-4- |
sunum sabancı üniversitesi nanoteknoloji araştırma ve uygulama merkezi |
sunum sabancı üniversitesi nanoteknoloji araştırma ve uygulama merkezi |
2025 |
A New Method To Generate Vigorous Cavitation Through The Microscale Device At Low Pressure For Wastewater Treatment
|
Environment, Clean Air & Water – Çevre, Temiz Hava ve Su
|
SUNUM Sabancı Üniversitesi Nanoteknoloji Araştırma ve Uygulama Merkezi
|
Patent Başvurusu Yapıldı |
Görüntülemek için tıklayınız |
| 2025-10-15 15:55:46 |
pestisit kalıntıların giderimi için ürünler |
-5- |
sunum sabancı üniversitesi nanoteknoloji araştırma ve uygulama merkezi |
sunum sabancı üniversitesi nanoteknoloji araştırma ve uygulama merkezi |
2025 |
Pestisit Kalıntıların Giderimi için Ürünler
|
Foods – Gıdalar
|
SUNUM Sabancı Üniversitesi Nanoteknoloji Araştırma ve Uygulama Merkezi
|
Patent Başvurusu Yapıldı |
Görüntülemek için tıklayınız |
| 2025-10-15 15:59:44 |
kimyasal dirençli nanosensör |
-4- |
sunum sabancı üniversitesi nanoteknoloji araştırma ve uygulama merkezi |
sunum sabancı üniversitesi nanoteknoloji araştırma ve uygulama merkezi |
2025 |
Kimyasal Dirençli Nanosensör
|
Environment, Clean Air & Water – Çevre, Temiz Hava ve Su
|
SUNUM Sabancı Üniversitesi Nanoteknoloji Araştırma ve Uygulama Merkezi
|
Patent Başvurusu Yapıldı |
Görüntülemek için tıklayınız |
| 2025-10-15 19:58:53 |
topuk kanı alma cihazı |
-7- |
üsküdar üniversitesi brainpark tto |
üsküdar üniversitesi brainpark tto |
2025 |
TOPUK KANI ALMA CİHAZI
|
Healthcare – Sağlık Hizmeti
|
ÜSKÜDAR ÜNİVERSİTESİ Brainpark TTO
|
Patent/Faydalı Model Tescil Edildi |
Görüntülemek için tıklayınız |
| 2025-10-15 20:01:59 |
sma hastalığının erken tanı ve taşıyıcılık tespiti için rt-pcr tanı kiti ve yöntemi |
-7- |
üsküdar üniversitesi brainpark tto |
üsküdar üniversitesi brainpark tto |
2025 |
SMA HASTALIĞININ ERKEN TANI VE TAŞIYICILIK TESPİTİ İÇİN RT-PCR TANI KİTİ VE YÖNTEMİ
|
Healthcare – Sağlık Hizmeti
|
ÜSKÜDAR ÜNİVERSİTESİ Brainpark TTO
|
Patent Başvurusu Yapıldı |
Görüntülemek için tıklayınız |
| 2025-10-15 20:04:36 |
elektromanyetik kirlilik ölçüm yöntemi |
-2- |
üsküdar üniversitesi brainpark tto |
üsküdar üniversitesi brainpark tto |
2025 |
Elektromanyetik kirlilik ölçüm yöntemi
|
Electronics – Elektronik
|
ÜSKÜDAR ÜNİVERSİTESİ Brainpark TTO
|
Patent Başvurusu Yapıldı |
Görüntülemek için tıklayınız |
| 2025-10-15 20:07:03 |
yanıcı ve parlayıcı kimyasal sıvıların depo alanlarında yapay zekâ destekli patlama erken uyarı takip sistemi ve yöntemi |
-1- |
üsküdar üniversitesi brainpark tto |
üsküdar üniversitesi brainpark tto |
2025 |
Yanıcı ve parlayıcı kimyasal sıvıların depo alanlarında yapay zekâ destekli patlama erken uyarı takip sistemi ve yöntemi
|
Chemicals – Kimyasallar
|
ÜSKÜDAR ÜNİVERSİTESİ Brainpark TTO
|
Patent Başvurusu Yapıldı |
Görüntülemek için tıklayınız |
| 2025-10-15 20:12:01 |
orna- oral ve nazal rezistant ses terapi aparatı |
-7- |
üsküdar üniversitesi brainpark tto |
üsküdar üniversitesi brainpark tto |
2025 |
ORNA- ORAL VE NAZAL REZİSTANT SES TERAPİ APARATI
|
Healthcare – Sağlık Hizmeti
|
ÜSKÜDAR ÜNİVERSİTESİ Brainpark TTO
|
Patent/Faydalı Model Tescil Edildi |
Görüntülemek için tıklayınız |
| 2025-10-15 20:14:00 |
sferik merceklerin diyoptri gücünü ölçme cihazı |
-7- |
üsküdar üniversitesi brainpark tto |
üsküdar üniversitesi brainpark tto |
2025 |
SFERİK MERCEKLERİN DİYOPTRİ GÜCÜNÜ ÖLÇME CİHAZI
|
Healthcare – Sağlık Hizmeti
|
ÜSKÜDAR ÜNİVERSİTESİ Brainpark TTO
|
Patent/Faydalı Model Tescil Edildi |
Görüntülemek için tıklayınız |
| 2025-10-15 20:15:50 |
yeni bir endotrakeal entübasyon düzeneği |
-7- |
üsküdar üniversitesi brainpark tto |
üsküdar üniversitesi brainpark tto |
2025 |
YENİ BİR ENDOTRAKEAL ENTÜBASYON DÜZENEĞİ
|
Healthcare – Sağlık Hizmeti
|
ÜSKÜDAR ÜNİVERSİTESİ Brainpark TTO
|
Patent/Faydalı Model Tescil Edildi |
Görüntülemek için tıklayınız |
| 2025-10-15 20:18:01 |
temporomandibular hipermobilite aparatı |
-7- |
üsküdar üniversitesi brainpark tto |
üsküdar üniversitesi brainpark tto |
2025 |
TEMPOROMANDİBULAR HİPERMOBİLİTE APARATI
|
Healthcare – Sağlık Hizmeti
|
ÜSKÜDAR ÜNİVERSİTESİ Brainpark TTO
|
Patent/Faydalı Model Tescil Edildi |
Görüntülemek için tıklayınız |
| 2025-10-15 20:20:43 |
doğum sonrası kanama kontrol kartı |
-7- |
üsküdar üniversitesi brainpark tto |
üsküdar üniversitesi brainpark tto |
2025 |
DOĞUM SONRASI KANAMA KONTROL KARTI
|
Healthcare – Sağlık Hizmeti
|
ÜSKÜDAR ÜNİVERSİTESİ Brainpark TTO
|
Patent/Faydalı Model Tescil Edildi |
Görüntülemek için tıklayınız |
| 2025-10-15 20:22:37 |
fundus yüksekliği ile gebelik hesaplama eğitim materyali |
-7- |
üsküdar üniversitesi brainpark tto |
üsküdar üniversitesi brainpark tto |
2025 |
FUNDUS YÜKSEKLİĞİ İLE GEBELİK HESAPLAMA EĞİTİM MATERYALİ
|
Healthcare – Sağlık Hizmeti
|
ÜSKÜDAR ÜNİVERSİTESİ Brainpark TTO
|
Patent/Faydalı Model Tescil Edildi |
Görüntülemek için tıklayınız |
| 2025-10-15 20:24:56 |
umblikal kord eğitim kiti |
-7- |
üsküdar üniversitesi brainpark tto |
üsküdar üniversitesi brainpark tto |
2025 |
UMBLİKAL KORD EĞİTİM KİTİ
|
Healthcare – Sağlık Hizmeti
|
ÜSKÜDAR ÜNİVERSİTESİ Brainpark TTO
|
Patent/Faydalı Model Tescil Edildi |
Görüntülemek için tıklayınız |
| 2025-10-15 20:27:22 |
insansız sualtı kurtarma aracı |
-7- |
üsküdar üniversitesi brainpark tto |
üsküdar üniversitesi brainpark tto |
2025 |
İNSANSIZ SUALTI KURTARMA ARACI
|
Healthcare – Sağlık Hizmeti
|
ÜSKÜDAR ÜNİVERSİTESİ Brainpark TTO
|
Patent/Faydalı Model Tescil Edildi |
Görüntülemek için tıklayınız |
| 2025-10-15 20:30:40 |
a dıagnostıc and prognostıc predıctıon method for mental health ıssues |
-7- |
üsküdar üniversitesi brainpark tto |
üsküdar üniversitesi brainpark tto |
2025 |
A DIAGNOSTIC AND PROGNOSTIC PREDICTION METHOD FOR MENTAL HEALTH ISSUES
|
Healthcare – Sağlık Hizmeti
|
ÜSKÜDAR ÜNİVERSİTESİ Brainpark TTO
|
Patent Başvurusu Yapıldı |
Görüntülemek için tıklayınız |
| 2025-10-15 20:32:48 |
monıtorıng and support system for stereotypy and daıly routınes ın autısm |
-7- |
üsküdar üniversitesi brainpark tto |
üsküdar üniversitesi brainpark tto |
2025 |
MONITORING AND SUPPORT SYSTEM FOR STEREOTYPY AND DAILY ROUTINES IN AUTISM
|
Healthcare – Sağlık Hizmeti
|
ÜSKÜDAR ÜNİVERSİTESİ Brainpark TTO
|
Patent Başvurusu Yapıldı |
Görüntülemek için tıklayınız |
| 2025-10-16 08:44:26 |
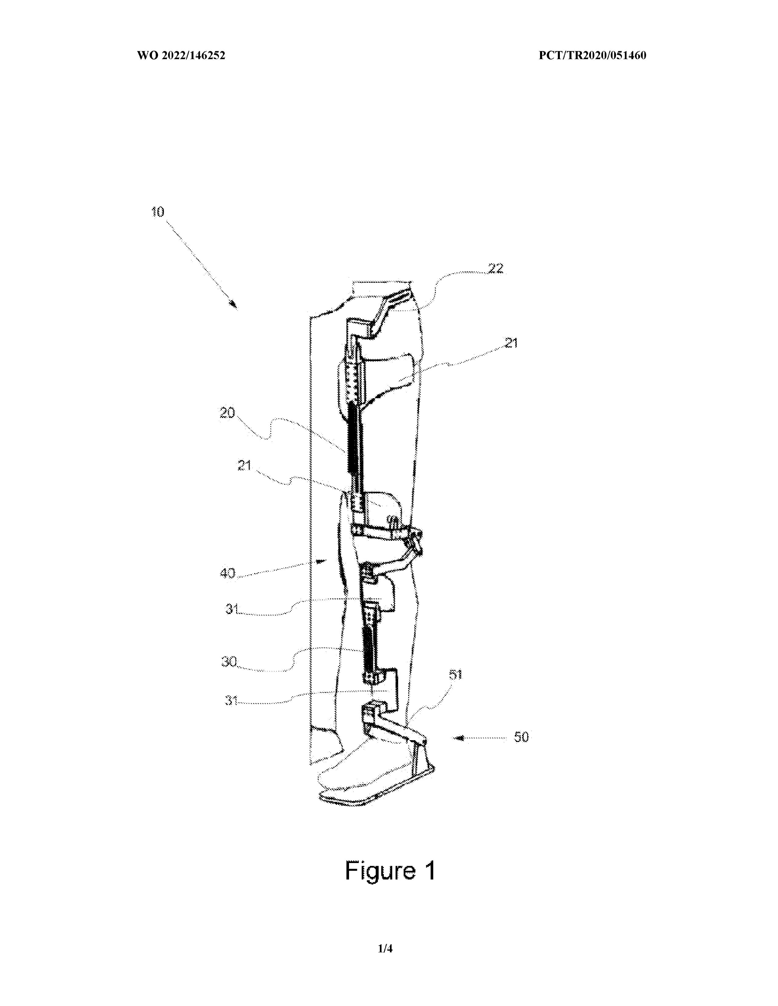
ayak bileğini biyomekanik olarak mimik eden robotik ayak ünitesi |
-7- |
özyeğin üniversitesi |
özyeğin üniversitesi |
2025 |
AYAK BİLEĞİNİ BİYOMEKANİK OLARAK MİMİK EDEN ROBOTİK AYAK ÜNİTESİ
|
Healthcare – Sağlık Hizmeti
|
Özyeğin Üniversitesi
|
Patent/Faydalı Model Tescil Edildi |
Görüntülemek için tıklayınız |
| 2025-10-16 08:55:50 |
3 serbestlik dereceli ayak bileği protezi |
-7- |
özyeğin üniversitesi |
özyeğin üniversitesi |
2025 |
3 SERBESTLİK DERECELİ AYAK BİLEĞİ PROTEZİ
|
Healthcare – Sağlık Hizmeti
|
Özyeğin Üniversitesi
|
Patent/Faydalı Model Tescil Edildi |
Görüntülemek için tıklayınız |
| 2025-10-16 09:04:41 |
yürüme, oturma-kalkma ve merdiven tırmanışı için bir transfemoral protez |
-7- |
özyeğin üniversitesi |
özyeğin üniversitesi |
2025 |
YÜRÜME, OTURMA-KALKMA VE MERDİVEN TIRMANIŞI İÇİN BİR TRANSFEMORAL PROTEZ
|
Healthcare – Sağlık Hizmeti
|
Özyeğin Üniversitesi
|
Patent/Faydalı Model Tescil Edildi |
Görüntülemek için tıklayınız |
| 2025-10-16 09:09:53 |
bir test platform sistemi |
-7- |
özyeğin üniversitesi |
özyeğin üniversitesi |
2025 |
BİR TEST PLATFORM SİSTEMİ
|
Healthcare – Sağlık Hizmeti
|
Özyeğin Üniversitesi
|
Patent/Faydalı Model Tescil Edildi |
Görüntülemek için tıklayınız |
| 2025-10-16 09:15:43 |
konforlu bir protez soketi |
-7- |
özyeğin üniversitesi |
özyeğin üniversitesi |
2025 |
KONFORLU BİR PROTEZ SOKETİ
|
Healthcare – Sağlık Hizmeti
|
Özyeğin Üniversitesi
|
Patent Başvurusu Yapıldı |
Görüntülemek için tıklayınız |
| 2025-10-16 10:03:38 |
bir dış iskelet sistemi |
-7- |
özyeğin üniversitesi |
özyeğin üniversitesi |
2025 |
BİR DIŞ İSKELET SİSTEMİ
|
Healthcare – Sağlık Hizmeti
|
Özyeğin Üniversitesi
|
Patent/Faydalı Model Tescil Edildi |
Görüntülemek için tıklayınız |
| 2025-10-16 10:12:28 |
bir oturma destek dış iskeleti |
-7- |
özyeğin üniversitesi |
özyeğin üniversitesi |
2025 |
BİR OTURMA DESTEK DIŞ İSKELETİ
|
Healthcare – Sağlık Hizmeti
|
Özyeğin Üniversitesi
|
Faydalı Model Başvurusu Yapıldı |
Görüntülemek için tıklayınız |
| 2025-10-16 10:20:50 |
bir ölçüm sistemi |
-7- |
özyeğin üniversitesi |
özyeğin üniversitesi |
2025 |
BİR ÖLÇÜM SİSTEMİ
|
Healthcare – Sağlık Hizmeti
|
Özyeğin Üniversitesi
|
Patent Başvurusu Yapıldı |
Görüntülemek için tıklayınız |
| 2025-10-16 16:08:37 |
obezite tedavisi için bir ağız içi aparat |
-7- |
üsküdar üniversitesi brainpark tto |
üsküdar üniversitesi brainpark tto |
2025 |
OBEZİTE TEDAVİSİ İÇİN BİR AĞIZ İÇİ APARAT
|
Healthcare – Sağlık Hizmeti
|
ÜSKÜDAR ÜNİVERSİTESİ Brainpark TTO
|
Patent Başvurusu Yapıldı |
Görüntülemek için tıklayınız |
| 2025-10-16 16:10:42 |
eklem steteskop cihazı |
-7- |
üsküdar üniversitesi brainpark tto |
üsküdar üniversitesi brainpark tto |
2025 |
EKLEM STETESKOP CİHAZI
|
Healthcare – Sağlık Hizmeti
|
ÜSKÜDAR ÜNİVERSİTESİ Brainpark TTO
|
Patent Başvurusu Yapıldı |
Görüntülemek için tıklayınız |
| 2025-10-16 16:13:24 |
bir ebe bulma sistemi |
-7- |
üsküdar üniversitesi brainpark tto |
üsküdar üniversitesi brainpark tto |
2025 |
BİR EBE BULMA SİSTEMİ
|
Healthcare – Sağlık Hizmeti
|
ÜSKÜDAR ÜNİVERSİTESİ Brainpark TTO
|
Patent Başvurusu Yapıldı |
Görüntülemek için tıklayınız |
| 2025-10-16 16:15:42 |
lohusa cihazı |
-7- |
üsküdar üniversitesi brainpark tto |
üsküdar üniversitesi brainpark tto |
2025 |
LOHUSA CİHAZI
|
Healthcare – Sağlık Hizmeti
|
ÜSKÜDAR ÜNİVERSİTESİ Brainpark TTO
|
Patent Başvurusu Yapıldı |
Görüntülemek için tıklayınız |
| 2025-10-17 17:08:15 |
yapay zekâ ve doğal dil işleme tabanlı engelli personel risk değerlendirme ve yönetim sistemi |
-8- |
üsküdar üniversitesi brainpark tto |
üsküdar üniversitesi brainpark tto |
2025 |
YAPAY ZEKÂ VE DOĞAL DİL İŞLEME TABANLI ENGELLİ PERSONEL RİSK DEĞERLENDİRME VE YÖNETİM SİSTEMİ
|
Infocomm – Bilişim
|
ÜSKÜDAR ÜNİVERSİTESİ Brainpark TTO
|
Faydalı Model Başvurusu Yapıldı |
Görüntülemek için tıklayınız |
| 2025-10-17 17:12:17 |
antiinflamatuar ve yara iyileştirici özellikli sars-cov-2 virüsünün 3cl ana proteaz enzimi ve insan bronşiyal epitel hücrelerinde ıl-8 sitokini inhibitörü. |
-7- |
üsküdar üniversitesi brainpark tto |
üsküdar üniversitesi brainpark tto |
2025 |
Antiinflamatuar ve yara iyileştirici özellikli sars-cov-2 virüsünün 3cl ana proteaz enzimi ve insan bronşiyal epitel hücrelerinde ıl-8 sitokini inhibitörü.
|
Healthcare – Sağlık Hizmeti
|
ÜSKÜDAR ÜNİVERSİTESİ Brainpark TTO
|
Patent/Faydalı Model Tescil Edildi |
Görüntülemek için tıklayınız |
| 2025-10-20 10:51:31 |
biyolojik yöntemle kuersetin üretimi |
-7- |
üsküdar üniversitesi brainpark tto |
üsküdar üniversitesi brainpark tto |
2025 |
Biyolojik Yöntemle Kuersetin Üretimi
|
Healthcare – Sağlık Hizmeti
|
ÜSKÜDAR ÜNİVERSİTESİ Brainpark TTO
|
Patent/Faydalı Model Tescil Edildi |
Görüntülemek için tıklayınız |
| 2025-10-20 11:29:42 |
electrıcal energy productıon usıng stem cell lınes, and a bıofuel cell therefor |
-3- |
üsküdar üniversitesi brainpark tto |
üsküdar üniversitesi brainpark tto |
2025 |
ELECTRICAL ENERGY PRODUCTION USING STEM CELL LINES, AND A BIOFUEL CELL THEREFOR
|
Energy – Enerji
|
ÜSKÜDAR ÜNİVERSİTESİ Brainpark TTO
|
Patent/Faydalı Model Tescil Edildi |
Görüntülemek için tıklayınız |
| 2025-10-20 14:45:07 |
bir yapay zekâ destekli akıllı spor kıyafeti sistemi ve kişiselleştirilmiş egzersiz önerisi üretmeye yönelik bir metot |
-9- |
itü arı teknokent arı teknoloji transfer ofisi |
itü arı teknokent arı teknoloji transfer ofisi |
2025 |
BİR YAPAY ZEKÂ DESTEKLİ AKILLI SPOR KIYAFETİ SİSTEMİ VE KİŞİSELLEŞTİRİLMİŞ EGZERSİZ ÖNERİSİ ÜRETMEYE YÖNELİK BİR METOT
|
Life Sciences – Yaşam Bilimleri
|
İTÜ ARI TEKNOKENT ARI TEKNOLOJİ TRANSFER OFİSİ
|
Patent Başvurusu Yapıldı |
Görüntülemek için tıklayınız |
| 2025-10-20 14:48:12 |
erken orman yangını tespit sistemi |
-8- |
itü arı teknokent arı teknoloji transfer ofisi |
itü arı teknokent arı teknoloji transfer ofisi |
2025 |
Erken Orman Yangını Tespit Sistemi
|
Infocomm – Bilişim
|
İTÜ ARI TEKNOKENT ARI TEKNOLOJİ TRANSFER OFİSİ
|
Patent Başvurusu Yapıldı |
Görüntülemek için tıklayınız |
| 2025-10-20 14:52:19 |
metayüzey tabanlı anten ve bu anteni içeren hayati işaret radar görüntüleme sistemi |
-7- |
itü arı teknokent arı teknoloji transfer ofisi |
itü arı teknokent arı teknoloji transfer ofisi |
2025 |
METAYÜZEY TABANLI ANTEN VE BU ANTENİ İÇEREN HAYATİ İŞARET RADAR GÖRÜNTÜLEME SİSTEMİ
|
Healthcare – Sağlık Hizmeti
|
İTÜ ARI TEKNOKENT ARI TEKNOLOJİ TRANSFER OFİSİ
|
Patent Başvurusu Yapıldı |
Görüntülemek için tıklayınız |
| 2025-10-20 15:02:31 |
kablosuz ve aydınlatmalı kamera |
-3- |
itü arı teknokent arı teknoloji transfer ofisi |
itü arı teknokent arı teknoloji transfer ofisi |
2025 |
KABLOSUZ VE AYDINLATMALI KAMERA
|
Energy – Enerji
|
İTÜ ARI TEKNOKENT ARI TEKNOLOJİ TRANSFER OFİSİ
|
Patent Başvurusu Yapıldı |
Görüntülemek için tıklayınız |
| 2025-10-20 15:19:25 |
rahim ağzı kanseri tedavisi için bir ilaç. |
-7- |
yıldız teknik üniversitesi / ytü yıldız teknopark |
yıldız teknik üniversitesi / ytü yıldız teknopark |
2025 |
Rahim ağzı kanseri tedavisi için bir ilaç.
|
Healthcare – Sağlık Hizmeti
|
YILDIZ TEKNİK ÜNİVERSİTESİ / YTÜ YILDIZ TEKNOPARK
|
Patent/Faydalı Model Tescil Edildi |
Görüntülemek için tıklayınız |
| 2025-10-20 15:27:54 |
yüksek kalitede hetero epitaksiyel monoklinik galyum oksit kristali büyütme metodu |
-12- |
yıldız teknik üniversitesi / ytü yıldız teknopark |
yıldız teknik üniversitesi / ytü yıldız teknopark |
2025 |
Yüksek kalitede hetero epitaksiyel monoklinik galyum oksit kristali büyütme metodu
|
Materials – Malzemeler
|
YILDIZ TEKNİK ÜNİVERSİTESİ / YTÜ YILDIZ TEKNOPARK
|
Patent/Faydalı Model Tescil Edildi |
Görüntülemek için tıklayınız |
| 2025-10-20 16:30:46 |
çok seviyeli dönüştürücüler için yeni bir uzay vektör modülasyonu yöntemi |
-2- |
yıldız teknik üniversitesi / ytü yıldız teknopark |
yıldız teknik üniversitesi / ytü yıldız teknopark |
2025 |
ÇOK SEVİYELİ DÖNÜŞTÜRÜCÜLER İÇİN YENİ BİR UZAY VEKTÖR MODÜLASYONU YÖNTEMİ
|
Electronics – Elektronik
|
YILDIZ TEKNİK ÜNİVERSİTESİ / YTÜ YILDIZ TEKNOPARK
|
Patent/Faydalı Model Tescil Edildi |
Görüntülemek için tıklayınız |
| 2025-10-20 16:02:45 |
mikroorganizma hedefli, antimikrobiyal bileşen/bileşenler içeren nanoformülasyonlar |
-1- |
yıldız teknik üniversitesi / ytü yıldız teknopark |
yıldız teknik üniversitesi / ytü yıldız teknopark |
2025 |
Mikroorganizma hedefli, antimikrobiyal bileşen/bileşenler içeren nanoformülasyonlar
|
Chemicals – Kimyasallar
|
YILDIZ TEKNİK ÜNİVERSİTESİ / YTÜ YILDIZ TEKNOPARK
|
Patent/Faydalı Model Tescil Edildi |
Görüntülemek için tıklayınız |
| 2025-10-20 16:02:59 |
kilit mekanizması |
-10- |
itü arı teknokent arı teknoloji transfer ofisi |
itü arı teknokent arı teknoloji transfer ofisi |
2025 |
KİLİT MEKANİZMASI
|
Logistics – Lojistik
|
İTÜ ARI TEKNOKENT ARI TEKNOLOJİ TRANSFER OFİSİ
|
Patent/Faydalı Model Tescil Edildi |
Görüntülemek için tıklayınız |
| 2025-10-20 16:07:45 |
systems and methods of dynamic adaptive fast charging in batteries to reduce lithium plating |
-3- |
itü arı teknokent arı teknoloji transfer ofisi |
itü arı teknokent arı teknoloji transfer ofisi |
2025 |
Systems and Methods of Dynamic Adaptive Fast Charging in Batteries to Reduce Lithium Plating
|
Energy – Enerji
|
İTÜ ARI TEKNOKENT ARI TEKNOLOJİ TRANSFER OFİSİ
|
Patent/Faydalı Model Tescil Edildi |
Görüntülemek için tıklayınız |
| 2025-10-20 16:13:38 |
havacılık alanında şüpheli bilet satış aktivitelerinin tespiti için multi profil sahtekarlık tespit sistemi |
-8- |
yıldız teknik üniversitesi / ytü yıldız teknopark |
yıldız teknik üniversitesi / ytü yıldız teknopark |
2025 |
HAVACILIK ALANINDA ŞÜPHELİ BİLET SATIŞ AKTİVİTELERİNİN TESPİTİ İÇİN MULTİ PROFİL SAHTEKARLIK TESPİT SİSTEMİ
|
Infocomm – Bilişim
|
YILDIZ TEKNİK ÜNİVERSİTESİ / YTÜ YILDIZ TEKNOPARK
|
Patent/Faydalı Model Tescil Edildi |
Görüntülemek için tıklayınız |
| 2025-10-20 16:16:06 |
yapay zeka kullanılarak afetlerde insansız hava araçlarıyla acil durum haberleşme sistemi ve kurtarma operasyonu |
-8- |
yıldız teknik üniversitesi / ytü yıldız teknopark |
yıldız teknik üniversitesi / ytü yıldız teknopark |
2025 |
YAPAY ZEKA KULLANILARAK AFETLERDE İNSANSIZ HAVA ARAÇLARIYLA ACİL DURUM HABERLEŞME SİSTEMİ VE KURTARMA OPERASYONU
|
Infocomm – Bilişim
|
YILDIZ TEKNİK ÜNİVERSİTESİ / YTÜ YILDIZ TEKNOPARK
|
Patent Başvurusu Yapıldı |
Görüntülemek için tıklayınız |
| 2025-10-20 16:21:39 |
an estımatıon method for ıntraocular pressure |
-9- |
itü arı teknokent arı teknoloji transfer ofisi |
itü arı teknokent arı teknoloji transfer ofisi |
2025 |
AN ESTIMATION METHOD FOR INTRAOCULAR PRESSURE
|
Life Sciences – Yaşam Bilimleri
|
İTÜ ARI TEKNOKENT ARI TEKNOLOJİ TRANSFER OFİSİ
|
Patent Başvurusu Yapıldı |
Görüntülemek için tıklayınız |
| 2025-10-20 16:25:52 |
fotokimyasal yöntemle küçük boyutlu ve tekil dağılımlı altın nanoparçacıkların sentezi, kanser ilacı yüklemesi ve sitotoksik etkisinin saptanması. |
-7- |
yıldız teknik üniversitesi / ytü yıldız teknopark |
yıldız teknik üniversitesi / ytü yıldız teknopark |
2025 |
Fotokimyasal yöntemle küçük boyutlu ve tekil dağılımlı altın nanoparçacıkların sentezi, kanser ilacı yüklemesi ve sitotoksik etkisinin saptanması.
|
Healthcare – Sağlık Hizmeti
|
YILDIZ TEKNİK ÜNİVERSİTESİ / YTÜ YILDIZ TEKNOPARK
|
Patent/Faydalı Model Tescil Edildi |
Görüntülemek için tıklayınız |
| 2025-10-20 16:33:15 |
paylaşımlı ve akıllı su üstü mobilite aracı |
-10- |
itü arı teknokent arı teknoloji transfer ofisi |
itü arı teknokent arı teknoloji transfer ofisi |
2025 |
PAYLAŞIMLI VE AKILLI SU ÜSTÜ MOBİLİTE ARACI
|
Logistics – Lojistik
|
İTÜ ARI TEKNOKENT ARI TEKNOLOJİ TRANSFER OFİSİ
|
Patent Başvurusu Yapıldı |
Görüntülemek için tıklayınız |
| 2025-10-20 16:36:30 |
bir enerji sisteminin düşük maliyetlerle işletilmesini sağlayan bir yöntem |
-2- |
yıldız teknik üniversitesi / ytü yıldız teknopark |
yıldız teknik üniversitesi / ytü yıldız teknopark |
2025 |
BİR ENERJİ SİSTEMİNİN DÜŞÜK MALİYETLERLE İŞLETİLMESİNİ SAĞLAYAN BİR YÖNTEM
|
Electronics – Elektronik
|
YILDIZ TEKNİK ÜNİVERSİTESİ / YTÜ YILDIZ TEKNOPARK
|
Faydalı Model Başvurusu Yapıldı |
Görüntülemek için tıklayınız |
| 2025-10-20 16:37:18 |
rekombinant parathormon üretimi yapan probiyotik maya hücrelerinin tedavi amaçlı kullanımı |
-1- |
itü arı teknokent arı teknoloji transfer ofisi |
itü arı teknokent arı teknoloji transfer ofisi |
2025 |
REKOMBİNANT PARATHORMON ÜRETİMİ YAPAN PROBİYOTİK MAYA HÜCRELERİNİN TEDAVİ AMAÇLI KULLANIMI
|
Chemicals – Kimyasallar
|
İTÜ ARI TEKNOKENT ARI TEKNOLOJİ TRANSFER OFİSİ
|
Patent Başvurusu Yapıldı |
Görüntülemek için tıklayınız |
| 2025-10-20 16:43:43 |
kombucha fermentasyonu için bir başlatıcı kültür çifti ve bunun üretim yöntemi |
-5- |
yıldız teknik üniversitesi / ytü yıldız teknopark |
yıldız teknik üniversitesi / ytü yıldız teknopark |
2025 |
Kombucha fermentasyonu için bir başlatıcı kültür çifti ve bunun üretim yöntemi
|
Foods – Gıdalar
|
YILDIZ TEKNİK ÜNİVERSİTESİ / YTÜ YILDIZ TEKNOPARK
|
Patent Başvurusu Yapıldı |
Görüntülemek için tıklayınız |
| 2025-10-20 16:59:56 |
yumurta kabuğu atıklarından katmanlı malzeme sentezi |
-11- |
yıldız teknik üniversitesi / ytü yıldız teknopark |
yıldız teknik üniversitesi / ytü yıldız teknopark |
2025 |
YUMURTA KABUĞU ATIKLARINDAN KATMANLI MALZEME SENTEZİ
|
Manufacturing – İmalat
|
YILDIZ TEKNİK ÜNİVERSİTESİ / YTÜ YILDIZ TEKNOPARK
|
Patent/Faydalı Model Tescil Edildi |
Görüntülemek için tıklayınız |
| 2025-10-20 18:57:23 |
koagülasyon yoluyla ham işleme için seramik hamuru hazırlanması |
-1- |
sabancı üniversitesi |
sabancı üniversitesi |
2025 |
KOAGÜLASYON YOLUYLA HAM İŞLEME İÇİN SERAMİK HAMURU HAZIRLANMASI
|
Chemicals – Kimyasallar
|
SABANCI ÜNİVERSİTESİ
|
Patent/Faydalı Model Tescil Edildi |
Görüntülemek için tıklayınız |
| 2025-10-20 19:14:45 |
bir bilgisayarlı sayısal denetim makine sistemini kullanarak bir parça imal etmek için bir takım yolu üretme yöntemi |
-11- |
sabancı üniversitesi |
sabancı üniversitesi |
2025 |
BİR BİLGİSAYARLI SAYISAL DENETİM MAKİNE SİSTEMİNİ KULLANARAK BİR PARÇA İMAL ETMEK İÇİN BİR TAKIM YOLU ÜRETME YÖNTEMİ
|
Manufacturing – İmalat
|
SABANCI ÜNİVERSİTESİ
|
Patent/Faydalı Model Tescil Edildi |
Görüntülemek için tıklayınız |
| 2025-10-20 19:36:02 |
araçlarda kullanılmaya uygun çok kademeli kompozit yaprak yay sistemi |
-12- |
sabancı üniversitesi |
sabancı üniversitesi |
2025 |
ARAÇLARDA KULLANILMAYA UYGUN ÇOK KADEMELİ KOMPOZİT YAPRAK YAY SİSTEMİ
|
Materials – Malzemeler
|
SABANCI ÜNİVERSİTESİ
|
Patent/Faydalı Model Tescil Edildi |
Görüntülemek için tıklayınız |
| 2025-10-20 21:28:57 |
öz girişim giderimi performansı iyileştirilmiş bir tam dupleks haberleşme sistemi |
-2- |
sabancı üniversitesi |
sabancı üniversitesi |
2025 |
ÖZ GİRİŞİM GİDERİMİ PERFORMANSI İYİLEŞTİRİLMİŞ BİR TAM DUPLEKS HABERLEŞME SİSTEMİ
|
Electronics – Elektronik
|
SABANCI ÜNİVERSİTESİ
|
Patent/Faydalı Model Tescil Edildi |
Görüntülemek için tıklayınız |
| 2025-10-22 10:05:12 |
planarıty system |
-8- |
itü arı teknokent arı teknoloji transfer ofisi |
itü arı teknokent arı teknoloji transfer ofisi |
2025 |
PLANARITY SYSTEM
|
Infocomm – Bilişim
|
İTÜ ARI TEKNOKENT ARI TEKNOLOJİ TRANSFER OFİSİ
|
Patent Başvurusu Yapıldı |
Görüntülemek için tıklayınız |
| 2025-10-22 13:50:46 |
iyileştirilmiş ısı aktarım yüzeyleri bulunan ısı değiştiricisi |
-3- |
sabancı üniversitesi |
sabancı üniversitesi |
2025 |
İYİLEŞTİRİLMİŞ ISI AKTARIM YÜZEYLERİ BULUNAN ISI DEĞİŞTİRİCİSİ
|
Energy – Enerji
|
SABANCI ÜNİVERSİTESİ
|
Patent/Faydalı Model Tescil Edildi |
Görüntülemek için tıklayınız |
| 2025-10-22 13:53:34 |
piezodirençli film üretiminde kullanıma uygun polimer bazlı mürekkep bileşimleri |
-12- |
sabancı üniversitesi |
sabancı üniversitesi |
2025 |
PİEZODİRENÇLİ FİLM ÜRETİMİNDE KULLANIMA UYGUN POLİMER BAZLI MÜREKKEP BİLEŞİMLERİ
|
Materials – Malzemeler
|
SABANCI ÜNİVERSİTESİ
|
Patent Başvurusu Yapıldı |
Görüntülemek için tıklayınız |
| 2025-11-19 16:56:05 |
fındık çotanağı katkılı polimerik malzeme üretim yöntemi |
-14- |
bahçeşehir üniversitesi teknoloji transfer ofisi |
bahçeşehir üniversitesi teknoloji transfer ofisi |
2025 |
FINDIK ÇOTANAĞI KATKILI POLİMERİK MALZEME ÜRETİM YÖNTEMİ
|
Waste Management & Recycling - Atık Yönetimi ve Geri Dönüşüm
|
Bahçeşehir Üniversitesi Teknoloji Transfer Ofisi
|
Patent/Faydalı Model Tescil Edildi |
Görüntülemek için tıklayınız |
| 2025-10-22 18:43:15 |
geliştirilmiş tırlama önleme performansına sahip bir dönel kesici takım |
-11- |
sabancı üniversitesi |
sabancı üniversitesi |
2025 |
GELİŞTİRİLMİŞ TIRLAMA ÖNLEME PERFORMANSINA SAHİP BİR DÖNEL KESİCİ TAKIM
|
Manufacturing – İmalat
|
SABANCI ÜNİVERSİTESİ
|
Patent/Faydalı Model Tescil Edildi |
Görüntülemek için tıklayınız |
| 2025-10-22 19:14:11 |
termoset reçineler için polioksazolin bazlı termal geciktirici kürleme ajanları |
-12- |
sabancı üniversitesi |
sabancı üniversitesi |
2025 |
TERMOSET REÇİNELER İÇİN POLİOKSAZOLİN BAZLI TERMAL GECİKTİRİCİ KÜRLEME AJANLARI
|
Materials – Malzemeler
|
SABANCI ÜNİVERSİTESİ
|
Patent/Faydalı Model Tescil Edildi |
Görüntülemek için tıklayınız |
| 2025-10-22 19:17:54 |
toprak organik karbon ölçümü için bir cihaz |
-9- |
sabancı üniversitesi |
sabancı üniversitesi |
2025 |
TOPRAK ORGANİK KARBON ÖLÇÜMÜ İÇİN BİR CİHAZ
|
Life Sciences – Yaşam Bilimleri
|
SABANCI ÜNİVERSİTESİ
|
Patent Başvurusu Yapıldı |
Görüntülemek için tıklayınız |
| 2025-10-22 22:09:40 |
macunlu borürleme için bir yöntem |
-11- |
sabancı üniversitesi |
sabancı üniversitesi |
2025 |
MACUNLU BORÜRLEME İÇİN BİR YÖNTEM
|
Manufacturing – İmalat
|
SABANCI ÜNİVERSİTESİ
|
Patent/Faydalı Model Tescil Edildi |
Görüntülemek için tıklayınız |
| 2025-10-24 14:44:30 |
soma devresi |
-2- |
tobb etü tto |
tobb etü tto |
2025 |
Soma Devresi
|
Electronics – Elektronik
|
TOBB ETÜ TTO
|
Patent/Faydalı Model Tescil Edildi |
Görüntülemek için tıklayınız |
| 2025-10-24 14:46:58 |
elektrikli araç şarj istasyonu scexp |
-2- |
tobb etü tto |
tobb etü tto |
2025 |
Elektrikli Araç Şarj İstasyonu SCEXP
|
Electronics – Elektronik
|
TOBB ETÜ TTO
|
Patent/Faydalı Model Tescil Edildi |
Görüntülemek için tıklayınız |
| 2025-10-24 17:05:13 |
aleksidin dihidroklorür ile sodyum pentaborat pentahidrat kombinasyonu içeren bir kemoterapötik ajan |
-7- |
yeditepe üniversitesi teknoloji transfer ofisi |
yeditepe üniversitesi teknoloji transfer ofisi |
2025 |
ALEKSİDİN DİHİDROKLORÜR İLE SODYUM PENTABORAT PENTAHİDRAT KOMBİNASYONU İÇEREN BİR KEMOTERAPÖTİK AJAN
|
Healthcare – Sağlık Hizmeti
|
YEDİTEPE ÜNİVERSİTESİ TEKNOLOJİ TRANSFER OFİSİ
|
Patent/Faydalı Model Tescil Edildi |
Görüntülemek için tıklayınız |
| 2025-10-30 14:37:42 |
çoklu numeroloji sistemlerinde numerolojiler arası girişim önleyici |
-2- |
tobb etü tto |
tobb etü tto |
2025 |
ÇOKLU NUMEROLOJİ SİSTEMLERİNDE NUMEROLOJİLER ARASI GİRİŞİM ÖNLEYİCİ
|
Electronics – Elektronik
|
TOBB ETÜ TTO
|
Patent/Faydalı Model Tescil Edildi |
Görüntülemek için tıklayınız |
| 2025-10-24 17:24:44 |
meıs proteinlerini inhibe eden bir kombinasyon |
-7- |
yeditepe üniversitesi teknoloji transfer ofisi |
yeditepe üniversitesi teknoloji transfer ofisi |
2025 |
MEIS PROTEİNLERİNİ İNHİBE EDEN BİR KOMBİNASYON
|
Healthcare – Sağlık Hizmeti
|
YEDİTEPE ÜNİVERSİTESİ TEKNOLOJİ TRANSFER OFİSİ
|
Patent/Faydalı Model Tescil Edildi |
Görüntülemek için tıklayınız |
| 2025-10-27 08:51:16 |
diş kök hücresinden nöron hücresi farklılaştırması amacıyla gerçekleştirilen besiyeri tabanlı bir yöntem |
-7- |
yeditepe üniversitesi teknoloji transfer ofisi |
yeditepe üniversitesi teknoloji transfer ofisi |
2025 |
DİŞ KÖK HÜCRESİNDEN NÖRON HÜCRESİ FARKLILAŞTIRMASI AMACIYLA GERÇEKLEŞTİRİLEN BESİYERİ TABANLI BİR YÖNTEM
|
Healthcare – Sağlık Hizmeti
|
YEDİTEPE ÜNİVERSİTESİ TEKNOLOJİ TRANSFER OFİSİ
|
Patent/Faydalı Model Tescil Edildi |
Görüntülemek için tıklayınız |
| 2025-10-27 08:58:12 |
bir mayın tarama aracı |
-2- |
yeditepe üniversitesi teknoloji transfer ofisi |
yeditepe üniversitesi teknoloji transfer ofisi |
2025 |
BİR MAYIN TARAMA ARACI
|
Electronics – Elektronik
|
YEDİTEPE ÜNİVERSİTESİ TEKNOLOJİ TRANSFER OFİSİ
|
Patent/Faydalı Model Tescil Edildi |
Görüntülemek için tıklayınız |
| 2025-10-27 09:16:58 |
cerrahi ped ve bunun elde edilmesi için bir yöntem |
-7- |
yeditepe üniversitesi teknoloji transfer ofisi |
yeditepe üniversitesi teknoloji transfer ofisi |
2025 |
CERRAHİ PED VE BUNUN ELDE EDİLMESİ İÇİN BİR YÖNTEM
|
Healthcare – Sağlık Hizmeti
|
YEDİTEPE ÜNİVERSİTESİ TEKNOLOJİ TRANSFER OFİSİ
|
Patent/Faydalı Model Tescil Edildi |
Görüntülemek için tıklayınız |
| 2025-10-27 09:23:03 |
bir eksternal fiksatör |
-11- |
yeditepe üniversitesi teknoloji transfer ofisi |
yeditepe üniversitesi teknoloji transfer ofisi |
2025 |
BİR EKSTERNAL FİKSATÖR
|
Manufacturing – İmalat
|
YEDİTEPE ÜNİVERSİTESİ TEKNOLOJİ TRANSFER OFİSİ
|
Patent/Faydalı Model Tescil Edildi |
Görüntülemek için tıklayınız |
| 2025-10-27 09:36:50 |
güdümlü kafe yüklü mikrovesiküler kanser ilacı ve bunun geliştirilmesi yöntemi |
-7- |
yeditepe üniversitesi teknoloji transfer ofisi |
yeditepe üniversitesi teknoloji transfer ofisi |
2025 |
GÜDÜMLÜ KAFE YÜKLÜ MİKROVESİKÜLER KANSER İLACI VE BUNUN GELİŞTİRİLMESİ YÖNTEMİ
|
Healthcare – Sağlık Hizmeti
|
YEDİTEPE ÜNİVERSİTESİ TEKNOLOJİ TRANSFER OFİSİ
|
Patent/Faydalı Model Tescil Edildi |
Görüntülemek için tıklayınız |
| 2025-10-30 14:39:30 |
bir reaktör |
-12- |
tobb etü tto |
tobb etü tto |
2025 |
Bir Reaktör
|
Materials – Malzemeler
|
TOBB ETÜ TTO
|
Patent/Faydalı Model Tescil Edildi |
Görüntülemek için tıklayınız |
| 2025-10-27 09:39:49 |
çift fazlı sıvı sistem ile eksozom izolasyonu yöntemi |
-7- |
yeditepe üniversitesi teknoloji transfer ofisi |
yeditepe üniversitesi teknoloji transfer ofisi |
2025 |
ÇİFT FAZLI SIVI SİSTEM İLE EKSOZOM İZOLASYONU YÖNTEMİ
|
Healthcare – Sağlık Hizmeti
|
YEDİTEPE ÜNİVERSİTESİ TEKNOLOJİ TRANSFER OFİSİ
|
Patent/Faydalı Model Tescil Edildi |
Görüntülemek için tıklayınız |
| 2025-10-27 10:22:29 |
jelatin veya pektin bazlı antimikrobiyal yüzey kaplama malzemesi |
-7- |
yeditepe üniversitesi teknoloji transfer ofisi |
yeditepe üniversitesi teknoloji transfer ofisi |
2025 |
JELATİN VEYA PEKTİN BAZLI ANTİMİKROBİYAL YÜZEY KAPLAMA MALZEMESİ
|
Healthcare – Sağlık Hizmeti
|
YEDİTEPE ÜNİVERSİTESİ TEKNOLOJİ TRANSFER OFİSİ
|
Patent/Faydalı Model Tescil Edildi |
Görüntülemek için tıklayınız |
| 2025-10-27 10:37:24 |
mutant p53 gen hedefli kurşun borat nanopartiküllerinin kanser tedavisinde kullanımı ve bu nanopartiküllerin üretim yöntemi |
-7- |
yeditepe üniversitesi teknoloji transfer ofisi |
yeditepe üniversitesi teknoloji transfer ofisi |
2025 |
MUTANT p53 GEN HEDEFLİ KURŞUN BORAT NANOPARTİKÜLLERİNİN KANSER TEDAVİSİNDE KULLANIMI VE BU NANOPARTİKÜLLERİN ÜRETİM YÖNTEMİ
|
Healthcare – Sağlık Hizmeti
|
YEDİTEPE ÜNİVERSİTESİ TEKNOLOJİ TRANSFER OFİSİ
|
Patent/Faydalı Model Tescil Edildi |
Görüntülemek için tıklayınız |
| 2025-10-27 10:49:50 |
otomatik huni kontrol cihazı |
-11- |
yeditepe üniversitesi teknoloji transfer ofisi |
yeditepe üniversitesi teknoloji transfer ofisi |
2025 |
OTOMATİK HUNİ KONTROL CİHAZI
|
Manufacturing – İmalat
|
YEDİTEPE ÜNİVERSİTESİ TEKNOLOJİ TRANSFER OFİSİ
|
Patent/Faydalı Model Tescil Edildi |
Görüntülemek için tıklayınız |
| 2025-10-30 14:42:36 |
geri dönüştürülmüş bir yapı elemanı |
-12- |
tobb etü tto |
tobb etü tto |
2025 |
Geri Dönüştürülmüş Bir Yapı Elemanı
|
Materials – Malzemeler
|
TOBB ETÜ TTO
|
Patent/Faydalı Model Tescil Edildi |
Görüntülemek için tıklayınız |
| 2025-10-30 14:44:20 |
bir nöron devresi |
-8- |
tobb etü tto |
tobb etü tto |
2025 |
Bir Nöron Devresi
|
Infocomm – Bilişim
|
TOBB ETÜ TTO
|
Patent/Faydalı Model Tescil Edildi |
Görüntülemek için tıklayınız |
| 2025-10-30 14:46:14 |
hücrelerin erişim örüntüsüne göre uyarlanabilir alttaş kutuplama (body bıas) gerilimli bir dinamik rastgele erişim belleği (dram) yapısı |
-8- |
tobb etü tto |
tobb etü tto |
2025 |
Hücrelerin Erişim Örüntüsüne Göre Uyarlanabilir Alttaş Kutuplama (Body Bıas) Gerilimli Bir Dinamik Rastgele Erişim Belleği (Dram) Yapısı
|
Infocomm – Bilişim
|
TOBB ETÜ TTO
|
Patent/Faydalı Model Tescil Edildi |
Görüntülemek için tıklayınız |
| 2025-10-30 14:48:02 |
bir genişleyebilir kafes |
-7- |
tobb etü tto |
tobb etü tto |
2025 |
Bir Genişleyebilir Kafes
|
Healthcare – Sağlık Hizmeti
|
TOBB ETÜ TTO
|
Patent/Faydalı Model Tescil Edildi |
Görüntülemek için tıklayınız |
| 2025-10-30 14:49:23 |
bir düşük gürültü faktörlü fiber üzerinden rf sinyal iletişim sistemi |
-2- |
tobb etü tto |
tobb etü tto |
2025 |
Bir Düşük Gürültü Faktörlü Fiber Üzerinden RF Sinyal İletişim Sistemi
|
Electronics – Elektronik
|
TOBB ETÜ TTO
|
Patent/Faydalı Model Tescil Edildi |
Görüntülemek için tıklayınız |
| 2025-10-30 14:51:06 |
bir süprhidrofobik kaplama yöntemi |
-12- |
tobb etü tto |
tobb etü tto |
2025 |
Bir Süprhidrofobik Kaplama Yöntemi
|
Materials – Malzemeler
|
TOBB ETÜ TTO
|
Patent/Faydalı Model Tescil Edildi |
Görüntülemek için tıklayınız |
| 2025-10-30 14:52:45 |
nöron devreli bir mantık kapısı |
-2- |
tobb etü tto |
tobb etü tto |
2025 |
Nöron Devreli Bir Mantık Kapısı
|
Electronics – Elektronik
|
TOBB ETÜ TTO
|
Patent/Faydalı Model Tescil Edildi |
Görüntülemek için tıklayınız |
| 2025-10-30 14:53:55 |
mikroişlemcilerde kullanıma uygun bir tek yön kaydırmalı yeniden adlandırma tablosu devresi |
-8- |
tobb etü tto |
tobb etü tto |
2025 |
Mikroişlemcilerde Kullanıma Uygun Bir Tek Yön Kaydırmalı Yeniden Adlandırma Tablosu Devresi
|
Infocomm – Bilişim
|
TOBB ETÜ TTO
|
Patent/Faydalı Model Tescil Edildi |
Görüntülemek için tıklayınız |
| 2025-10-30 14:55:14 |
hücrelerin erişim örüntüsüne göre uyarlanabilir alttaş kutuplama (body bıas) gerilimli bir dinamik rastgele erişim belleği (dram) yapısı |
-8- |
tobb etü tto |
tobb etü tto |
2025 |
Hücrelerin Erişim Örüntüsüne Göre Uyarlanabilir Alttaş Kutuplama (Body Bıas) Gerilimli Bir Dinamik Rastgele Erişim Belleği (Dram) Yapısı
|
Infocomm – Bilişim
|
TOBB ETÜ TTO
|
Patent/Faydalı Model Tescil Edildi |
Görüntülemek için tıklayınız |
| 2025-10-30 14:56:33 |
bir yapay sinaps devresi |
-2- |
tobb etü tto |
tobb etü tto |
2025 |
Bir Yapay Sinaps Devresi
|
Electronics – Elektronik
|
TOBB ETÜ TTO
|
Patent/Faydalı Model Tescil Edildi |
Görüntülemek için tıklayınız |
| 2025-10-30 14:57:55 |
ayarlanabilir terahertz sözde yüzey plazmon polariton devresi |
-2- |
tobb etü tto |
tobb etü tto |
2025 |
Ayarlanabilir Terahertz Sözde Yüzey Plazmon Polariton Devresi
|
Electronics – Elektronik
|
TOBB ETÜ TTO
|
Patent/Faydalı Model Tescil Edildi |
Görüntülemek için tıklayınız |
| 2025-10-30 14:59:23 |
multimodal artificial ıntelligence system for ear ınfection diagnosis and management |
-7- |
tobb etü tto |
tobb etü tto |
2025 |
Multimodal Artificial Intelligence System For Ear Infection Diagnosis And Management
|
Healthcare – Sağlık Hizmeti
|
TOBB ETÜ TTO
|
Faydalı Model Başvurusu Yapıldı |
Görüntülemek için tıklayınız |
| 2025-10-30 15:56:28 |
bir sualtı antreman ürünü |
-12- |
izmir ekonomi üniversitesi |
izmir ekonomi üniversitesi |
2025 |
Bir Sualtı Antreman Ürünü
|
Materials – Malzemeler
|
İzmir Ekonomi Üniversitesi
|
Patent/Faydalı Model Tescil Edildi |
Görüntülemek için tıklayınız |
| 2025-10-30 16:13:12 |
bir sehpa |
-12- |
izmir ekonomi üniversitesi |
izmir ekonomi üniversitesi |
2025 |
Bir Sehpa
|
Materials – Malzemeler
|
İzmir Ekonomi Üniversitesi
|
Patent/Faydalı Model Tescil Edildi |
Görüntülemek için tıklayınız |
| 2025-10-30 16:19:12 |
bir çay demleme makinesi |
-2- |
izmir ekonomi üniversitesi |
izmir ekonomi üniversitesi |
2025 |
Bir Çay Demleme Makinesi
|
Electronics – Elektronik
|
İzmir Ekonomi Üniversitesi
|
Patent/Faydalı Model Tescil Edildi |
Görüntülemek için tıklayınız |
| 2025-10-30 16:39:14 |
dı̇jı̇tal ekran ı̇çeren bı̇r koruma kaskı |
-12- |
izmir ekonomi üniversitesi |
izmir ekonomi üniversitesi |
2025 |
Dı̇jı̇tal Ekran İçeren Bı̇r Koruma Kaskı
|
Materials – Malzemeler
|
İzmir Ekonomi Üniversitesi
|
Patent/Faydalı Model Tescil Edildi |
Görüntülemek için tıklayınız |
| 2025-10-30 16:42:14 |
gerçek zamanlı sualtı görüntü iyileştirme yöntemi |
-2- |
izmir ekonomi üniversitesi |
izmir ekonomi üniversitesi |
2025 |
Gerçek Zamanlı Sualtı Görüntü İyileştirme Yöntemi
|
Electronics – Elektronik
|
İzmir Ekonomi Üniversitesi
|
Patent/Faydalı Model Tescil Edildi |
Görüntülemek için tıklayınız |
| 2025-10-30 16:47:14 |
bir yangın müdahale kulesi |
-4- |
izmir ekonomi üniversitesi |
izmir ekonomi üniversitesi |
2025 |
Bir Yangın Müdahale Kulesi
|
Environment, Clean Air & Water – Çevre, Temiz Hava ve Su
|
İzmir Ekonomi Üniversitesi
|
Patent/Faydalı Model Tescil Edildi |
Görüntülemek için tıklayınız |
| 2025-10-30 16:51:48 |
ambalaj sistemi ve ambalaj malzemesi üretim yöntemi |
-5- |
izmir ekonomi üniversitesi |
izmir ekonomi üniversitesi |
2025 |
Ambalaj Sistemi Ve Ambalaj Malzemesi Üretim Yöntemi
|
Foods – Gıdalar
|
İzmir Ekonomi Üniversitesi
|
Patent/Faydalı Model Tescil Edildi |
Görüntülemek için tıklayınız |
| 2025-10-30 17:02:18 |
meme kanseri teşhisinde kullanılan polyester kumaş üzerine entegre edilmiş yeni bir anten yapılanması |
-12- |
izmir ekonomi üniversitesi |
izmir ekonomi üniversitesi |
2025 |
Meme Kanseri Teşhisinde Kullanılan Polyester Kumaş Üzerine Entegre Edilmiş Yeni Bir Anten Yapılanması
|
Materials – Malzemeler
|
İzmir Ekonomi Üniversitesi
|
Patent Başvurusu Yapıldı |
Görüntülemek için tıklayınız |
| 2025-10-30 17:04:16 |
vegan sucuk |
-5- |
izmir ekonomi üniversitesi |
izmir ekonomi üniversitesi |
2025 |
Vegan Sucuk
|
Foods – Gıdalar
|
İzmir Ekonomi Üniversitesi
|
Patent Başvurusu Yapıldı |
Görüntülemek için tıklayınız |
| 2025-10-30 17:07:37 |
balık ağlarının örme ve bakım işlemlerinin yapılmasını sağlayıcı masa tipi tezgah tasarımı |
-12- |
izmir ekonomi üniversitesi |
izmir ekonomi üniversitesi |
2025 |
Balık Ağlarının Örme Ve Bakım İşlemlerinin Yapılmasını Sağlayıcı Masa Tipi Tezgah Tasarımı
|
Materials – Malzemeler
|
İzmir Ekonomi Üniversitesi
|
Patent/Faydalı Model Tescil Edildi |
Görüntülemek için tıklayınız |
| 2025-10-30 17:10:22 |
bir kentsel soğutma mekanizması |
-4- |
izmir ekonomi üniversitesi |
izmir ekonomi üniversitesi |
2025 |
Bir Kentsel Soğutma Mekanizması
|
Environment, Clean Air & Water – Çevre, Temiz Hava ve Su
|
İzmir Ekonomi Üniversitesi
|
Patent/Faydalı Model Tescil Edildi |
Görüntülemek için tıklayınız |
| 2025-10-30 17:12:05 |
görüntü video vb. görsel içerikleri iyileştirme yöntemi |
-2- |
izmir ekonomi üniversitesi |
izmir ekonomi üniversitesi |
2025 |
Görüntü Video vb. Görsel İçerikleri İyileştirme Yöntemi
|
Electronics – Elektronik
|
İzmir Ekonomi Üniversitesi
|
Patent/Faydalı Model Tescil Edildi |
Görüntülemek için tıklayınız |
| 2025-10-31 09:24:56 |
obstrüktif uyku apnesi tedavisinde kullanılan bir ağız içi aparat |
-9- |
boğaziçi üniversitesi teknoloji transfer ofisi a.ş. |
boğaziçi üniversitesi teknoloji transfer ofisi a.ş. |
2025 |
OBSTRÜKTİF UYKU APNESİ TEDAVİSİNDE KULLANILAN BİR AĞIZ İÇİ APARAT
|
Life Sciences – Yaşam Bilimleri
|
Boğaziçi Üniversitesi Teknoloji Transfer Ofisi A.Ş.
|
Patent/Faydalı Model Tescil Edildi |
Görüntülemek için tıklayınız |
| 2025-10-31 09:33:35 |
biyoalgılama uygulamaları için entegre edilmiş bir biyosensör ve ölçüm yöntemi |
-7- |
boğaziçi üniversitesi teknoloji transfer ofisi a.ş. |
boğaziçi üniversitesi teknoloji transfer ofisi a.ş. |
2025 |
BİYOALGILAMA UYGULAMALARI İÇİN ENTEGRE EDİLMİŞ BİR BİYOSENSÖR ve ÖLÇÜM YÖNTEMİ
|
Healthcare – Sağlık Hizmeti
|
Boğaziçi Üniversitesi Teknoloji Transfer Ofisi A.Ş.
|
Patent/Faydalı Model Tescil Edildi |
Görüntülemek için tıklayınız |
| 2025-10-31 09:53:39 |
onkolojik ameliyatlarda tümörü yok uyarılmış ayrışım spektroskopisi (lıbs) geri besleme tabanlı lazer sistemi |
-7- |
boğaziçi üniversitesi teknoloji transfer ofisi a.ş. |
boğaziçi üniversitesi teknoloji transfer ofisi a.ş. |
2025 |
ONKOLOJİK AMELİYATLARDA TÜMÖRÜ YOK UYARILMIŞ AYRIŞIM SPEKTROSKOPİSİ (LIBS) GERİ BESLEME TABANLI LAZER SİSTEMİ
|
Healthcare – Sağlık Hizmeti
|
Boğaziçi Üniversitesi Teknoloji Transfer Ofisi A.Ş.
|
Patent/Faydalı Model Tescil Edildi |
Görüntülemek için tıklayınız |
| 2025-10-31 09:57:22 |
tele-sağlık uygulamaları için dijital stetoskop ve ölçüm kalite sistemi |
-7- |
boğaziçi üniversitesi teknoloji transfer ofisi a.ş. |
boğaziçi üniversitesi teknoloji transfer ofisi a.ş. |
2025 |
TELE-SAĞLIK UYGULAMALARI İÇİN DİJİTAL STETOSKOP VE ÖLÇÜM KALİTE SİSTEMİ
|
Healthcare – Sağlık Hizmeti
|
Boğaziçi Üniversitesi Teknoloji Transfer Ofisi A.Ş.
|
Patent/Faydalı Model Tescil Edildi |
Görüntülemek için tıklayınız |
| 2025-10-31 10:04:54 |
bir antijen gönderim yöntemi |
-7- |
boğaziçi üniversitesi teknoloji transfer ofisi a.ş. |
boğaziçi üniversitesi teknoloji transfer ofisi a.ş. |
2025 |
BİR ANTİJEN GÖNDERİM YÖNTEMİ
|
Healthcare – Sağlık Hizmeti
|
Boğaziçi Üniversitesi Teknoloji Transfer Ofisi A.Ş.
|
Patent/Faydalı Model Tescil Edildi |
Görüntülemek için tıklayınız |
| 2025-10-31 10:08:32 |
alzheimer hastalığının tedavisine yönelik bileşikler ve bu bileşiklerin elde edilme yöntemi |
-7- |
boğaziçi üniversitesi teknoloji transfer ofisi a.ş. |
boğaziçi üniversitesi teknoloji transfer ofisi a.ş. |
2025 |
ALZHEİMER HASTALIĞININ TEDAVİSİNE YÖNELİK BİLEŞİKLER VE BU BİLEŞİKLERİN ELDE EDİLME YÖNTEMİ
|
Healthcare – Sağlık Hizmeti
|
Boğaziçi Üniversitesi Teknoloji Transfer Ofisi A.Ş.
|
Patent/Faydalı Model Tescil Edildi |
Görüntülemek için tıklayınız |
| 2025-10-31 10:12:12 |
kas spastisitesinin kimyasal kas denervasyon yöntemiyle tedavisinde kullanım için bir ilaç |
-7- |
boğaziçi üniversitesi teknoloji transfer ofisi a.ş. |
boğaziçi üniversitesi teknoloji transfer ofisi a.ş. |
2025 |
KAS SPASTİSİTESİNİN KİMYASAL KAS DENERVASYON YÖNTEMİYLE TEDAVİSİNDE KULLANIM İÇİN BİR İLAÇ
|
Healthcare – Sağlık Hizmeti
|
Boğaziçi Üniversitesi Teknoloji Transfer Ofisi A.Ş.
|
Patent/Faydalı Model Tescil Edildi |
Görüntülemek için tıklayınız |
| 2025-10-31 10:18:47 |
yara ve yanık tedavisinde kullanıma uygun olan ve ilaç taşıyıcı sistem özelliği gösteren biyouyumlu ve biyobozunur hidrojeller |
-7- |
boğaziçi üniversitesi teknoloji transfer ofisi a.ş. |
boğaziçi üniversitesi teknoloji transfer ofisi a.ş. |
2025 |
YARA VE YANIK TEDAVİSİNDE KULLANIMA UYGUN OLAN VE İLAÇ TAŞIYICI SİSTEM ÖZELLİĞİ GÖSTEREN BİYOUYUMLU VE BİYOBOZUNUR HİDROJELLER
|
Healthcare – Sağlık Hizmeti
|
Boğaziçi Üniversitesi Teknoloji Transfer Ofisi A.Ş.
|
Patent Başvurusu Yapıldı |
Görüntülemek için tıklayınız |
| 2025-10-31 10:25:32 |
elektrik motorların iç-manyetik alanı ve manyetik akışkanlar kullanılarak soğutma etkinliğinin artırılması |
-2- |
boğaziçi üniversitesi teknoloji transfer ofisi a.ş. |
boğaziçi üniversitesi teknoloji transfer ofisi a.ş. |
2025 |
ELEKTRİK MOTORLARIN İÇ-MANYETİK ALANI VE MANYETİK AKIŞKANLAR KULLANILARAK SOĞUTMA ETKİNLİĞİNİN ARTIRILMASI
|
Electronics – Elektronik
|
Boğaziçi Üniversitesi Teknoloji Transfer Ofisi A.Ş.
|
Patent Başvurusu Yapıldı |
Görüntülemek için tıklayınız |
| 2025-10-31 10:32:20 |
bir titreşim yalıtım sistemi |
-2- |
boğaziçi üniversitesi teknoloji transfer ofisi a.ş. |
boğaziçi üniversitesi teknoloji transfer ofisi a.ş. |
2025 |
BİR TİTREŞİM YALITIM SİSTEMİ
|
Electronics – Elektronik
|
Boğaziçi Üniversitesi Teknoloji Transfer Ofisi A.Ş.
|
Patent/Faydalı Model Tescil Edildi |
Görüntülemek için tıklayınız |
| 2025-10-31 10:34:52 |
üç eksende ayarlanabilir titreşim yalıtım sistemi |
-2- |
boğaziçi üniversitesi teknoloji transfer ofisi a.ş. |
boğaziçi üniversitesi teknoloji transfer ofisi a.ş. |
2025 |
ÜÇ EKSENDE AYARLANABİLİR TİTREŞİM YALITIM SİSTEMİ
|
Electronics – Elektronik
|
Boğaziçi Üniversitesi Teknoloji Transfer Ofisi A.Ş.
|
Patent/Faydalı Model Tescil Edildi |
Görüntülemek için tıklayınız |
| 2025-10-31 10:38:15 |
titreşim enerjisi sönümleme mekanizması |
-6- |
boğaziçi üniversitesi teknoloji transfer ofisi a.ş. |
boğaziçi üniversitesi teknoloji transfer ofisi a.ş. |
2025 |
TİTREŞİM ENERJİSİ SÖNÜMLEME MEKANİZMASI
|
Green Building – Ekolojik Binalar
|
Boğaziçi Üniversitesi Teknoloji Transfer Ofisi A.Ş.
|
Patent/Faydalı Model Tescil Edildi |
Görüntülemek için tıklayınız |
| 2025-10-31 10:42:56 |
tek bir şırınga hareketi ile sabit oranlarla sürdürülebilir bir sıvı karışımı sağlayan mikroakışkan sistemi |
-1- |
boğaziçi üniversitesi teknoloji transfer ofisi a.ş. |
boğaziçi üniversitesi teknoloji transfer ofisi a.ş. |
2025 |
TEK BİR ŞIRINGA HAREKETİ İLE SABİT ORANLARLA SÜRDÜRÜLEBİLİR BİR SIVI KARIŞIMI SAĞLAYAN MİKROAKIŞKAN SİSTEMİ
|
Chemicals – Kimyasallar
|
Boğaziçi Üniversitesi Teknoloji Transfer Ofisi A.Ş.
|
Patent Başvurusu Yapıldı |
Görüntülemek için tıklayınız |
| 2025-10-31 13:04:30 |
genetik değiştirilmiş hücre kablosuz sensörler |
-7- |
boğaziçi üniversitesi teknoloji transfer ofisi a.ş. |
boğaziçi üniversitesi teknoloji transfer ofisi a.ş. |
2025 |
GENETİK DEĞİŞTİRİLMİŞ HÜCRE KABLOSUZ SENSÖRLER
|
Healthcare – Sağlık Hizmeti
|
Boğaziçi Üniversitesi Teknoloji Transfer Ofisi A.Ş.
|
Patent/Faydalı Model Tescil Edildi |
Görüntülemek için tıklayınız |
| 2025-10-31 13:59:08 |
elektro eğirme ve kaplama yöntemlerini birleştiren entegre malzeme üretim düzeneği |
-2- |
boğaziçi üniversitesi teknoloji transfer ofisi a.ş. |
boğaziçi üniversitesi teknoloji transfer ofisi a.ş. |
2025 |
ELEKTRO EĞİRME VE KAPLAMA YÖNTEMLERİNİ BİRLEŞTİREN ENTEGRE MALZEME ÜRETİM DÜZENEĞİ
|
Electronics – Elektronik
|
Boğaziçi Üniversitesi Teknoloji Transfer Ofisi A.Ş.
|
Patent/Faydalı Model Tescil Edildi |
Görüntülemek için tıklayınız |
| 2025-10-31 14:44:54 |
polimer ince film temelli fiziksel olarak klonlanamayan güvenlik etiketlerinin üretimi |
-12- |
erciyes teknopark |
erciyes teknopark |
2025 |
POLİMER İNCE FİLM TEMELLİ FİZİKSEL OLARAK KLONLANAMAYAN GÜVENLİK ETİKETLERİNİN ÜRETİMİ
|
Materials – Malzemeler
|
Erciyes Teknopark
|
Patent/Faydalı Model Tescil Edildi |
Görüntülemek için tıklayınız |
| 2025-10-31 15:02:29 |
bir süspansiyon sistemi |
-11- |
erciyes teknopark |
erciyes teknopark |
2025 |
Bir Süspansiyon Sistemi
|
Manufacturing – İmalat
|
Erciyes Teknopark
|
Patent/Faydalı Model Tescil Edildi |
Görüntülemek için tıklayınız |
| 2025-10-31 15:10:10 |
trombositten zengin fibrin kaynaklı mezenkimal kök hücreler |
-7- |
erciyes teknopark |
erciyes teknopark |
2025 |
TROMBOSİTTEN ZENGİN FİBRİN KAYNAKLI MEZENKİMAL KÖK HÜCRELER
|
Healthcare – Sağlık Hizmeti
|
Erciyes Teknopark
|
Patent/Faydalı Model Tescil Edildi |
Görüntülemek için tıklayınız |
| 2025-10-31 15:16:42 |
mannheımıa haemolytıca serotip a1 yatay akış immünokromatografi teşhis kiti |
-7- |
erciyes teknopark |
erciyes teknopark |
2025 |
MANNHEIMIA HAEMOLYTICA SEROTİP A1 YATAY AKIŞ İMMÜNOKROMATOGRAFİ TEŞHİS KİTİ
|
Healthcare – Sağlık Hizmeti
|
Erciyes Teknopark
|
Patent/Faydalı Model Tescil Edildi |
Görüntülemek için tıklayınız |
| 2025-10-31 15:33:52 |
rezonans hasarlarını önleyen, öngerilmesiz ve etriyesiz, yekpare, sürdürülebilir beton travers |
-11- |
erciyes teknopark |
erciyes teknopark |
2025 |
REZONANS HASARLARINI ÖNLEYEN, ÖNGERİLMESİZ VE ETRİYESİZ, YEKPARE, SÜRDÜRÜLEBİLİR BETON TRAVERS
|
Manufacturing – İmalat
|
Erciyes Teknopark
|
Patent/Faydalı Model Tescil Edildi |
Görüntülemek için tıklayınız |
| 2025-10-31 15:46:09 |
deltamethrinin tayini ve ölçülmesi için bir yöntem ve biyosensör |
-5- |
erciyes teknopark |
erciyes teknopark |
2025 |
DELTAMETHRİNİN TAYİNİ VE ÖLÇÜLMESİ İÇİN BİR YÖNTEM VE BİYOSENSÖR
|
Foods – Gıdalar
|
Erciyes Teknopark
|
Patent/Faydalı Model Tescil Edildi |
Görüntülemek için tıklayınız |
| 2025-10-31 15:53:42 |
çok katmanlı hibrit güvenlik etiketi |
-12- |
erciyes teknopark |
erciyes teknopark |
2025 |
ÇOK KATMANLI HİBRİT GÜVENLİK ETİKETİ
|
Materials – Malzemeler
|
Erciyes Teknopark
|
Patent/Faydalı Model Tescil Edildi |
Görüntülemek için tıklayınız |
| 2025-10-31 16:08:41 |
hızlı tükürük pepsin testi |
-7- |
erciyes teknopark |
erciyes teknopark |
2025 |
HIZLI TÜKÜRÜK PEPSİN TESTİ
|
Healthcare – Sağlık Hizmeti
|
Erciyes Teknopark
|
Patent/Faydalı Model Tescil Edildi |
Görüntülemek için tıklayınız |
| 2025-10-31 16:16:17 |
taze kesilmiş meyve ve sebzeleri raf ömürleri boyunca gerçek zamanlı paket üzerinde izleme |
-5- |
erciyes teknopark |
erciyes teknopark |
2025 |
TAZE KESİLMİŞ MEYVE VE SEBZELERİ RAF ÖMÜRLERİ BOYUNCA GERÇEK ZAMANLI PAKET ÜZERİNDE İZLEME
|
Foods – Gıdalar
|
Erciyes Teknopark
|
Patent/Faydalı Model Tescil Edildi |
Görüntülemek için tıklayınız |
| 2025-10-31 16:22:11 |
bitki ekstrelerinden enzimlere alternatif nano biyokatalizörlerin üretilmesi ve plastik üretiminde kullanılması |
-12- |
erciyes teknopark |
erciyes teknopark |
2025 |
BİTKİ EKSTRELERİNDEN ENZİMLERE ALTERNATİF NANO BİYOKATALİZÖRLERİN ÜRETİLMESİ VE PLASTİK ÜRETİMİNDE KULLANILMASI
|
Materials – Malzemeler
|
Erciyes Teknopark
|
Patent/Faydalı Model Tescil Edildi |
Görüntülemek için tıklayınız |
| 2025-10-31 16:29:35 |
bir yenilikçi ambalaj |
-7- |
yeditepe üniversitesi teknoloji transfer ofisi |
yeditepe üniversitesi teknoloji transfer ofisi |
2025 |
BİR YENİLİKÇİ AMBALAJ
|
Healthcare – Sağlık Hizmeti
|
YEDİTEPE ÜNİVERSİTESİ TEKNOLOJİ TRANSFER OFİSİ
|
Patent/Faydalı Model Tescil Edildi |
Görüntülemek için tıklayınız |
| 2025-10-31 16:30:04 |
antimikrobiyal peptit |
-7- |
erciyes teknopark |
erciyes teknopark |
2025 |
ANTİMİKROBİYAL PEPTİT
|
Healthcare – Sağlık Hizmeti
|
Erciyes Teknopark
|
Patent/Faydalı Model Tescil Edildi |
Görüntülemek için tıklayınız |
| 2025-10-31 16:36:18 |
karbon temelli elektrot ve bunun üretim yöntemi |
-2- |
erciyes teknopark |
erciyes teknopark |
2025 |
KARBON TEMELLİ ELEKTROT VE BUNUN ÜRETİM YÖNTEMİ
|
Electronics – Elektronik
|
Erciyes Teknopark
|
Patent/Faydalı Model Tescil Edildi |
Görüntülemek için tıklayınız |
| 2025-10-31 16:40:59 |
farklı kimyasallarla rombohedral yapıda silisyum karbür sentezi |
-1- |
erciyes teknopark |
erciyes teknopark |
2025 |
FARKLI KİMYASALLARLA ROMBOHEDRAL YAPIDA SİLİSYUM KARBÜR SENTEZİ
|
Chemicals – Kimyasallar
|
Erciyes Teknopark
|
Patent/Faydalı Model Tescil Edildi |
Görüntülemek için tıklayınız |
| 2025-10-31 17:14:11 |
beyin cerrahisi çok foksiyonlu robotik yapay zeka tabanlı gerçek zamanlı artırılmış gerçeklik görüntü işlemli temassız kayıt özellikli navigasyon sistemi |
-7- |
dokuz eylül üniversitesi teknoloji transfer ofisi |
dokuz eylül üniversitesi teknoloji transfer ofisi |
2025 |
BEYİN CERRAHİSİ ÇOK FOKSİYONLU ROBOTİK YAPAY ZEKA TABANLI GERÇEK ZAMANLI ARTIRILMIŞ GERÇEKLİK GÖRÜNTÜ İŞLEMLİ TEMASSIZ KAYIT ÖZELLİKLİ NAVİGASYON SİSTEMİ
|
Healthcare – Sağlık Hizmeti
|
Dokuz Eylül Üniversitesi Teknoloji Transfer Ofisi
|
Patent Başvurusu Yapıldı |
Görüntülemek için tıklayınız |
| 2025-10-31 17:27:18 |
multipl skleroz tedavisinde empagliflozin kullanımı |
-7- |
erciyes teknopark |
erciyes teknopark |
2025 |
MULTİPL SKLEROZ TEDAVİSİNDE EMPAGLİFLOZİN KULLANIMI
|
Healthcare – Sağlık Hizmeti
|
Erciyes Teknopark
|
Patent/Faydalı Model Tescil Edildi |
Görüntülemek için tıklayınız |
| 2025-10-31 17:34:12 |
denge cihazı sistemi |
-7- |
erciyes teknopark |
erciyes teknopark |
2025 |
DENGE CİHAZI SİSTEMİ
|
Healthcare – Sağlık Hizmeti
|
Erciyes Teknopark
|
Patent/Faydalı Model Tescil Edildi |
Görüntülemek için tıklayınız |
| 2025-10-31 17:39:34 |
göğüs kanseri tedavisinde yüksek antikanser etki gösteren yeni bir benzimidazolyum tuzunun sentezi |
-7- |
erciyes teknopark |
erciyes teknopark |
2025 |
GÖĞÜS KANSERİ TEDAVİSİNDE YÜKSEK ANTİKANSER ETKİ GÖSTEREN YENİ BİR BENZİMİDAZOLYUM TUZUNUN SENTEZİ
|
Healthcare – Sağlık Hizmeti
|
Erciyes Teknopark
|
Patent/Faydalı Model Tescil Edildi |
Görüntülemek için tıklayınız |
| 2025-11-04 10:48:38 |
sığla (liquidambar orientalis) yağı kapsülü |
-5- |
akdeniz üniversitesi antalya teknokent tto |
akdeniz üniversitesi antalya teknokent tto |
2025 |
Sığla (Liquidambar orientalis) yağı kapsülü
|
Foods – Gıdalar
|
Akdeniz Üniversitesi Antalya Teknokent TTO
|
Patent Başvurusu Yapıldı |
Görüntülemek için tıklayınız |
| 2025-10-31 17:44:26 |
adsorban bilye |
-12- |
erciyes teknopark |
erciyes teknopark |
2025 |
ADSORBAN BİLYE
|
Materials – Malzemeler
|
Erciyes Teknopark
|
Patent/Faydalı Model Tescil Edildi |
Görüntülemek için tıklayınız |
| 2025-11-04 11:01:26 |
akıllı güneş enerjili su ısıtma sistemi. |
-8- |
akdeniz üniversitesi antalya teknokent tto |
akdeniz üniversitesi antalya teknokent tto |
2025 |
Akıllı güneş enerjili su ısıtma sistemi.
|
Infocomm – Bilişim
|
Akdeniz Üniversitesi Antalya Teknokent TTO
|
Patent Başvurusu Yapıldı |
Görüntülemek için tıklayınız |
| 2025-11-04 11:05:38 |
radyoaktif bileşen içeren süperkapasitör ve hazırlama yöntemi |
-1- |
akdeniz üniversitesi antalya teknokent tto |
akdeniz üniversitesi antalya teknokent tto |
2025 |
Radyoaktif Bileşen İçeren Süperkapasitör ve Hazırlama Yöntemi
|
Chemicals – Kimyasallar
|
Akdeniz Üniversitesi Antalya Teknokent TTO
|
Patent/Faydalı Model Tescil Edildi |
Görüntülemek için tıklayınız |
| 2025-10-31 17:50:26 |
1,3-dikarbonil türevleri içeren dipolar (zwitter iyon) imidazol türevlerin sentezi |
-1- |
erciyes teknopark |
erciyes teknopark |
2025 |
1,3-DİKARBONİL TÜREVLERİ İÇEREN DİPOLAR (ZWİTTER İYON) İMİDAZOL TÜREVLERİN SENTEZİ
|
Chemicals – Kimyasallar
|
Erciyes Teknopark
|
Patent/Faydalı Model Tescil Edildi |
Görüntülemek için tıklayınız |
| 2025-11-03 17:15:45 |
bir performans değerlendirme sistemi ve yöntemi |
-8- |
dokuz eylül üniversitesi teknoloji transfer ofisi |
dokuz eylül üniversitesi teknoloji transfer ofisi |
2025 |
Bir Performans Değerlendirme Sistemi ve Yöntemi
|
Infocomm – Bilişim
|
Dokuz Eylül Üniversitesi Teknoloji Transfer Ofisi
|
Patent Başvurusu Yapıldı |
Görüntülemek için tıklayınız |
| 2025-11-03 11:43:55 |
bakteri kültüründen metisilin dirençli staphylococcus aureus’un (mrsa) doğal kaynaklı hızlı tanı testi |
-7- |
erciyes teknopark |
erciyes teknopark |
2025 |
Bakteri Kültüründen Metisilin Dirençli Staphylococcus aureus’un (MRSA) Doğal Kaynaklı Hızlı Tanı Testi
|
Healthcare – Sağlık Hizmeti
|
Erciyes Teknopark
|
Patent/Faydalı Model Tescil Edildi |
Görüntülemek için tıklayınız |
| 2025-11-03 11:52:49 |
bir ankraj vidası |
-7- |
erciyes teknopark |
erciyes teknopark |
2025 |
BİR ANKRAJ VİDASI
|
Healthcare – Sağlık Hizmeti
|
Erciyes Teknopark
|
Patent/Faydalı Model Tescil Edildi |
Görüntülemek için tıklayınız |
| 2025-11-03 12:00:29 |
bir ayak giysisi ile terapötik transkraniyal doğru akım üretimi ve bu akım ile günlük hayatta tedavi uygulaması yapabilen bir sistem |
-7- |
erciyes teknopark |
erciyes teknopark |
2025 |
BİR AYAK GİYSİSİ İLE TERAPÖTİK TRANSKRANİYAL DOĞRU AKIM ÜRETİMİ VE BU AKIM İLE GÜNLÜK HAYATTA TEDAVİ UYGULAMASI YAPABİLEN BİR SİSTEM
|
Healthcare – Sağlık Hizmeti
|
Erciyes Teknopark
|
Patent/Faydalı Model Tescil Edildi |
Görüntülemek için tıklayınız |
| 2025-11-03 13:40:51 |
geri dönüştürülmüş poli(etilen terefitalat) oligomeri ile pet özellikli pamuklu kumaş üretim ve ısı transfer baskı tekniğiyle reklendirme yöntemi |
-12- |
erciyes teknopark |
erciyes teknopark |
2025 |
GERİ DÖNÜŞTÜRÜLMÜŞ POLİ(ETİLEN TEREFİTALAT) OLİGOMERİ İLE PET ÖZELLİKLİ PAMUKLU KUMAŞ ÜRETİM VE ISI TRANSFER BASKI TEKNİĞİYLE REKLENDİRME YÖNTEMİ
|
Materials – Malzemeler
|
Erciyes Teknopark
|
Patent/Faydalı Model Tescil Edildi |
Görüntülemek için tıklayınız |
| 2025-11-03 14:06:55 |
görme engelli bireyler için bir akıllı rotalama ve yönlendirme sistemi |
-2- |
erciyes teknopark |
erciyes teknopark |
2025 |
GÖRME ENGELLİ BİREYLER İÇİN BİR AKILLI ROTALAMA VE YÖNLENDİRME SİSTEMİ
|
Electronics – Elektronik
|
Erciyes Teknopark
|
Patent/Faydalı Model Tescil Edildi |
Görüntülemek için tıklayınız |
| 2025-11-03 14:14:18 |
ince film mekanik özelliklerini ölçmek için bir yöntem ve cihaz |
-11- |
erciyes teknopark |
erciyes teknopark |
2025 |
İNCE FİLM MEKANİK ÖZELLİKLERİNİ ÖLÇMEK İÇİN BİR YÖNTEM VE CİHAZ
|
Manufacturing – İmalat
|
Erciyes Teknopark
|
Patent/Faydalı Model Tescil Edildi |
Görüntülemek için tıklayınız |
| 2025-11-03 14:22:16 |
multipl skleroz (ms) hastalığında beta-kazomorfin peptitlerinin kullanılması |
-7- |
erciyes teknopark |
erciyes teknopark |
2025 |
MULTİPL SKLEROZ (MS) HASTALIĞINDA BETA-KAZOMORFİN PEPTİTLERİNİN KULLANILMASI
|
Healthcare – Sağlık Hizmeti
|
Erciyes Teknopark
|
Patent/Faydalı Model Tescil Edildi |
Görüntülemek için tıklayınız |
| 2025-11-03 14:28:10 |
tekstil ürünlerinin elektriksel karakterizasyonu için cihaz ve yöntem |
-2- |
erciyes teknopark |
erciyes teknopark |
2025 |
TEKSTİL ÜRÜNLERİNİN ELEKTRİKSEL KARAKTERİZASYONU İÇİN CİHAZ VE YÖNTEM
|
Electronics – Elektronik
|
Erciyes Teknopark
|
Patent/Faydalı Model Tescil Edildi |
Görüntülemek için tıklayınız |
| 2025-11-03 14:36:27 |
yeni nesil dizileme teknolojisi ile hastalık keşfi için yeni algoritmalar |
-7- |
erciyes teknopark |
erciyes teknopark |
2025 |
YENİ NESİL DİZİLEME TEKNOLOJİSİ İLE HASTALIK KEŞFİ İÇİN YENİ ALGORİTMALAR
|
Healthcare – Sağlık Hizmeti
|
Erciyes Teknopark
|
Patent/Faydalı Model Tescil Edildi |
Görüntülemek için tıklayınız |
| 2025-11-04 10:32:53 |
bal arılarında crıspr-cas9 ile varroa destructor’a dirençli jhamt geni susturulmuş genotip üretim yöntemi |
-5- |
akdeniz üniversitesi antalya teknokent tto |
akdeniz üniversitesi antalya teknokent tto |
2025 |
Bal Arılarında CRISPR-Cas9 ile Varroa Destructor’a Dirençli JHAMT Geni Susturulmuş Genotip Üretim Yöntemi
|
Foods – Gıdalar
|
Akdeniz Üniversitesi Antalya Teknokent TTO
|
Patent/Faydalı Model Tescil Edildi |
Görüntülemek için tıklayınız |
| 2025-11-03 16:11:41 |
mirna’ların distemper teşhis ve tedavisinde kullanımı |
-7- |
erciyes teknopark |
erciyes teknopark |
2025 |
miRNA’LARIN DİSTEMPER TEŞHİS VE TEDAVİSİNDE KULLANIMI
|
Healthcare – Sağlık Hizmeti
|
Erciyes Teknopark
|
Patent/Faydalı Model Tescil Edildi |
Görüntülemek için tıklayınız |
| 2025-11-03 16:20:04 |
baş-boyun cerrahisi pozisyon seti |
-7- |
erciyes teknopark |
erciyes teknopark |
2025 |
BAŞ-BOYUN CERRAHİSİ POZİSYON SETİ
|
Healthcare – Sağlık Hizmeti
|
Erciyes Teknopark
|
Patent/Faydalı Model Tescil Edildi |
Görüntülemek için tıklayınız |
| 2025-11-03 16:39:16 |
tekstil ürün otomasyonu |
-8- |
dokuz eylül üniversitesi teknoloji transfer ofisi |
dokuz eylül üniversitesi teknoloji transfer ofisi |
2025 |
Tekstil Ürün Otomasyonu
|
Infocomm – Bilişim
|
Dokuz Eylül Üniversitesi Teknoloji Transfer Ofisi
|
Patent/Faydalı Model Tescil Edildi |
Görüntülemek için tıklayınız |
| 2025-11-03 16:42:01 |
veri toplama sistemi |
-8- |
dokuz eylül üniversitesi teknoloji transfer ofisi |
dokuz eylül üniversitesi teknoloji transfer ofisi |
2025 |
Veri Toplama Sistemi
|
Infocomm – Bilişim
|
Dokuz Eylül Üniversitesi Teknoloji Transfer Ofisi
|
Faydalı Model Başvurusu Yapıldı |
Görüntülemek için tıklayınız |
| 2025-11-03 16:45:11 |
öğünlük ilaçları gruplayabilen bir ilaç hazırlama makinesi |
-8- |
dokuz eylül üniversitesi teknoloji transfer ofisi |
dokuz eylül üniversitesi teknoloji transfer ofisi |
2025 |
Öğünlük İlaçları Gruplayabilen Bir İlaç Hazırlama Makinesi
|
Infocomm – Bilişim
|
Dokuz Eylül Üniversitesi Teknoloji Transfer Ofisi
|
Patent Başvurusu Yapıldı |
Görüntülemek için tıklayınız |
| 2025-11-03 16:47:31 |
ekrandaki kişilerin kimliğini tespit etmek için bir yüz tanıma sistemi |
-8- |
dokuz eylül üniversitesi teknoloji transfer ofisi |
dokuz eylül üniversitesi teknoloji transfer ofisi |
2025 |
Ekrandaki Kişilerin Kimliğini Tespit Etmek İçin Bir Yüz Tanıma Sistemi
|
Infocomm – Bilişim
|
Dokuz Eylül Üniversitesi Teknoloji Transfer Ofisi
|
Patent Başvurusu Yapıldı |
Görüntülemek için tıklayınız |
| 2025-11-03 16:49:42 |
ilaç kullanım talimatının hastaya sunulmasını sağlamak için bir sistem |
-8- |
dokuz eylül üniversitesi teknoloji transfer ofisi |
dokuz eylül üniversitesi teknoloji transfer ofisi |
2025 |
İlaç Kullanım Talimatının Hastaya Sunulmasını Sağlamak İçin Bir Sistem
|
Infocomm – Bilişim
|
Dokuz Eylül Üniversitesi Teknoloji Transfer Ofisi
|
Patent Başvurusu Yapıldı |
Görüntülemek için tıklayınız |
| 2025-11-03 16:51:00 |
bir yenilikçi kren sistemi |
-11- |
erciyes teknopark |
erciyes teknopark |
2025 |
BİR YENİLİKÇİ KREN SİSTEMİ
|
Manufacturing – İmalat
|
Erciyes Teknopark
|
Patent/Faydalı Model Tescil Edildi |
Görüntülemek için tıklayınız |
| 2025-11-03 16:51:27 |
bir uyarı ve bildirim sistemi |
-8- |
dokuz eylül üniversitesi teknoloji transfer ofisi |
dokuz eylül üniversitesi teknoloji transfer ofisi |
2025 |
Bir Uyarı ve Bildirim Sistemi
|
Infocomm – Bilişim
|
Dokuz Eylül Üniversitesi Teknoloji Transfer Ofisi
|
Patent Başvurusu Yapıldı |
Görüntülemek için tıklayınız |
| 2025-11-03 17:00:20 |
meta veri entegrasyonu ile zenginleştirilmiş bir mesajlaşma platformu sistemi ve yöntemi |
-8- |
dokuz eylül üniversitesi teknoloji transfer ofisi |
dokuz eylül üniversitesi teknoloji transfer ofisi |
2025 |
Meta Veri Entegrasyonu İle Zenginleştirilmiş Bir Mesajlaşma Platformu Sistemi ve Yöntemi
|
Infocomm – Bilişim
|
Dokuz Eylül Üniversitesi Teknoloji Transfer Ofisi
|
Patent Başvurusu Yapıldı |
Görüntülemek için tıklayınız |
| 2025-11-03 17:02:23 |
cnc tezgahlara yönelik bir sistem |
-8- |
dokuz eylül üniversitesi teknoloji transfer ofisi |
dokuz eylül üniversitesi teknoloji transfer ofisi |
2025 |
CNC Tezgahlara Yönelik Bir Sistem
|
Infocomm – Bilişim
|
Dokuz Eylül Üniversitesi Teknoloji Transfer Ofisi
|
Patent Başvurusu Yapıldı |
Görüntülemek için tıklayınız |
| 2025-11-03 17:03:58 |
sosyal medya platformlarında görsel içerikli gönderilerin engellenmesine yönelik bir sistem ve yöntem |
-8- |
dokuz eylül üniversitesi teknoloji transfer ofisi |
dokuz eylül üniversitesi teknoloji transfer ofisi |
2025 |
Sosyal Medya Platformlarında Görsel İçerikli Gönderilerin Engellenmesine Yönelik Bir Sistem Ve Yöntem
|
Infocomm – Bilişim
|
Dokuz Eylül Üniversitesi Teknoloji Transfer Ofisi
|
Patent Başvurusu Yapıldı |
Görüntülemek için tıklayınız |
| 2025-11-03 17:05:43 |
alarm süreçlerini yönetmek üzere bir sistem |
-8- |
dokuz eylül üniversitesi teknoloji transfer ofisi |
dokuz eylül üniversitesi teknoloji transfer ofisi |
2025 |
Alarm Süreçlerini Yönetmek Üzere Bir Sistem
|
Infocomm – Bilişim
|
Dokuz Eylül Üniversitesi Teknoloji Transfer Ofisi
|
Patent Başvurusu Yapıldı |
Görüntülemek için tıklayınız |
| 2025-11-03 17:07:10 |
üretim ve pazar yeri optimizasyonu sistemi |
-8- |
dokuz eylül üniversitesi teknoloji transfer ofisi |
dokuz eylül üniversitesi teknoloji transfer ofisi |
2025 |
Üretim ve Pazar Yeri Optimizasyonu Sistemi
|
Infocomm – Bilişim
|
Dokuz Eylül Üniversitesi Teknoloji Transfer Ofisi
|
Patent Başvurusu Yapıldı |
Görüntülemek için tıklayınız |
| 2025-11-03 17:08:40 |
fabrika ve ürün bazında numune gönderim optimizasyonu sistemi |
-8- |
dokuz eylül üniversitesi teknoloji transfer ofisi |
dokuz eylül üniversitesi teknoloji transfer ofisi |
2025 |
Fabrika ve Ürün Bazında Numune Gönderim Optimizasyonu Sistemi
|
Infocomm – Bilişim
|
Dokuz Eylül Üniversitesi Teknoloji Transfer Ofisi
|
Patent Başvurusu Yapıldı |
Görüntülemek için tıklayınız |
| 2025-11-03 17:10:14 |
satış sonrası arıza geri bildirimine dayalı kalite kontrol sistemi |
-8- |
dokuz eylül üniversitesi teknoloji transfer ofisi |
dokuz eylül üniversitesi teknoloji transfer ofisi |
2025 |
Satış Sonrası Arıza Geri Bildirimine Dayalı Kalite Kontrol Sistemi
|
Infocomm – Bilişim
|
Dokuz Eylül Üniversitesi Teknoloji Transfer Ofisi
|
Patent Başvurusu Yapıldı |
Görüntülemek için tıklayınız |
| 2025-11-03 17:11:27 |
bir tartışmayı başlatan kişi veya kişileri tespit etmek üzere bir sistem |
-8- |
dokuz eylül üniversitesi teknoloji transfer ofisi |
dokuz eylül üniversitesi teknoloji transfer ofisi |
2025 |
Bir Tartışmayı Başlatan Kişi veya Kişileri Tespit Etmek Üzere Bir Sistem
|
Infocomm – Bilişim
|
Dokuz Eylül Üniversitesi Teknoloji Transfer Ofisi
|
Patent Başvurusu Yapıldı |
Görüntülemek için tıklayınız |
| 2025-11-03 17:12:52 |
platformlar arası eş zamanlı müzik dinleme sistemi |
-8- |
dokuz eylül üniversitesi teknoloji transfer ofisi |
dokuz eylül üniversitesi teknoloji transfer ofisi |
2025 |
Platformlar Arası Eş Zamanlı Müzik Dinleme Sistemi
|
Infocomm – Bilişim
|
Dokuz Eylül Üniversitesi Teknoloji Transfer Ofisi
|
Patent Başvurusu Yapıldı |
Görüntülemek için tıklayınız |
| 2025-11-03 17:14:24 |
mesajlaşma platformları üzerinden e-posta yönetim sistemi ve yöntemi |
-8- |
dokuz eylül üniversitesi teknoloji transfer ofisi |
dokuz eylül üniversitesi teknoloji transfer ofisi |
2025 |
Mesajlaşma Platformları Üzerinden E-Posta Yönetim Sistemi Ve Yöntemi
|
Infocomm – Bilişim
|
Dokuz Eylül Üniversitesi Teknoloji Transfer Ofisi
|
Patent Başvurusu Yapıldı |
Görüntülemek için tıklayınız |
| 2025-11-03 17:17:22 |
bir trafik ışığı düzeneği |
-8- |
dokuz eylül üniversitesi teknoloji transfer ofisi |
dokuz eylül üniversitesi teknoloji transfer ofisi |
2025 |
Bir Trafik Işığı Düzeneği
|
Infocomm – Bilişim
|
Dokuz Eylül Üniversitesi Teknoloji Transfer Ofisi
|
Patent/Faydalı Model Tescil Edildi |
Görüntülemek için tıklayınız |
| 2025-11-03 17:18:54 |
ağız kısmı genişletilebilen bir poşet |
-8- |
dokuz eylül üniversitesi teknoloji transfer ofisi |
dokuz eylül üniversitesi teknoloji transfer ofisi |
2025 |
Ağız Kısmı Genişletilebilen Bir Poşet
|
Infocomm – Bilişim
|
Dokuz Eylül Üniversitesi Teknoloji Transfer Ofisi
|
Patent/Faydalı Model Tescil Edildi |
Görüntülemek için tıklayınız |
| 2025-11-03 17:20:24 |
bir anket ünitesi ve buna yönelik sistem |
-8- |
dokuz eylül üniversitesi teknoloji transfer ofisi |
dokuz eylül üniversitesi teknoloji transfer ofisi |
2025 |
Bir Anket Ünitesi ve Buna Yönelik Sistem
|
Infocomm – Bilişim
|
Dokuz Eylül Üniversitesi Teknoloji Transfer Ofisi
|
Faydalı Model Başvurusu Yapıldı |
Görüntülemek için tıklayınız |
| 2025-11-03 17:21:41 |
bir küp şeker ambalajı |
-8- |
dokuz eylül üniversitesi teknoloji transfer ofisi |
dokuz eylül üniversitesi teknoloji transfer ofisi |
2025 |
Bir Küp Şeker Ambalajı
|
Infocomm – Bilişim
|
Dokuz Eylül Üniversitesi Teknoloji Transfer Ofisi
|
Faydalı Model Başvurusu Yapıldı |
Görüntülemek için tıklayınız |
| 2025-11-03 17:23:18 |
soğutma performansı iyileştirilmiş bir bilgisayar kasası |
-8- |
dokuz eylül üniversitesi teknoloji transfer ofisi |
dokuz eylül üniversitesi teknoloji transfer ofisi |
2025 |
Soğutma Performansı İyileştirilmiş Bir Bilgisayar Kasası
|
Infocomm – Bilişim
|
Dokuz Eylül Üniversitesi Teknoloji Transfer Ofisi
|
Faydalı Model Başvurusu Yapıldı |
Görüntülemek için tıklayınız |
| 2025-11-03 17:25:00 |
elektronik cihazlardan veri toplama cihazı |
-8- |
dokuz eylül üniversitesi teknoloji transfer ofisi |
dokuz eylül üniversitesi teknoloji transfer ofisi |
2025 |
Elektronik Cihazlardan Veri Toplama Cihazı
|
Infocomm – Bilişim
|
Dokuz Eylül Üniversitesi Teknoloji Transfer Ofisi
|
Patent/Faydalı Model Tescil Edildi |
Görüntülemek için tıklayınız |
| 2025-11-04 11:16:14 |
atık katkılarıyla elde edilen kompozit duvar yapı bloğu. |
-6- |
akdeniz üniversitesi antalya teknokent tto |
akdeniz üniversitesi antalya teknokent tto |
2025 |
Atık katkılarıyla elde edilen kompozit duvar yapı bloğu.
|
Green Building – Ekolojik Binalar
|
Akdeniz Üniversitesi Antalya Teknokent TTO
|
Patent/Faydalı Model Tescil Edildi |
Görüntülemek için tıklayınız |
| 2025-11-04 11:36:29 |
“manyezit maden atıklarından fizikokimyasal özellikleri ayarlanabilen nanometrik mg(oh)2 ve mgo nanoparçacıklarının üretimi |
-1- |
akdeniz üniversitesi antalya teknokent tto |
akdeniz üniversitesi antalya teknokent tto |
2025 |
“Manyezit maden atıklarından fizikokimyasal özellikleri ayarlanabilen nanometrik mg(oh)2 ve mgo nanoparçacıklarının üretimi
|
Chemicals – Kimyasallar
|
Akdeniz Üniversitesi Antalya Teknokent TTO
|
Patent Başvurusu Yapıldı |
Görüntülemek için tıklayınız |
| 2025-11-04 11:42:10 |
modern seralar için mobil robot sistemi |
-9- |
akdeniz üniversitesi antalya teknokent tto |
akdeniz üniversitesi antalya teknokent tto |
2025 |
Modern seralar için mobil robot sistemi
|
Life Sciences – Yaşam Bilimleri
|
Akdeniz Üniversitesi Antalya Teknokent TTO
|
Patent/Faydalı Model Tescil Edildi |
Görüntülemek için tıklayınız |
| 2025-11-07 09:59:59 |
çok algoritmalı ve dinamik optimizasyon gerçekleştiren akıllı dijital iş gücü sistemi (optichain) |
-8- |
akdeniz üniversitesi antalya teknokent tto |
akdeniz üniversitesi antalya teknokent tto |
2025 |
Çok Algoritmalı ve Dinamik Optimizasyon Gerçekleştiren Akıllı Dijital İş Gücü Sistemi (Optichain)
|
Infocomm – Bilişim
|
Akdeniz Üniversitesi Antalya Teknokent TTO
|
Patent Başvurusu Yapıldı |
Görüntülemek için tıklayınız |
| 2025-11-07 10:50:57 |
puccinellia distans'tan izole edilen selenyum toksisitesine dayanıklılık geni. |
-9- |
akdeniz üniversitesi antalya teknokent tto |
akdeniz üniversitesi antalya teknokent tto |
2025 |
Puccinellia distans'tan izole edilen selenyum toksisitesine dayanıklılık geni.
|
Life Sciences – Yaşam Bilimleri
|
Akdeniz Üniversitesi Antalya Teknokent TTO
|
Patent/Faydalı Model Tescil Edildi |
Görüntülemek için tıklayınız |
| 2025-11-17 15:51:58 |
gnss sinyallerınden daha düşük frekanslar kullanan iç mekan konumlandırma sistemleri için bir gnss tekrarlayıcı mimarisi ve konum bulma metodu |
-2- |
sabancı üniversitesi |
sabancı üniversitesi |
2025 |
GNSS SİNYALLERINDEN DAHA DÜŞÜK FREKANSLAR KULLANAN İÇ MEKAN KONUMLANDIRMA SİSTEMLERİ İÇİN BİR GNSS TEKRARLAYICI MİMARİSİ VE KONUM BULMA METODU
|
Electronics – Elektronik
|
SABANCI ÜNİVERSİTESİ
|
Patent Başvurusu Yapıldı |
Görüntülemek için tıklayınız |
| 2025-11-17 16:13:56 |
parçacık topaklanmasını önlemeye yönelik akış sistemi |
-11- |
sabancı üniversitesi |
sabancı üniversitesi |
2025 |
PARÇACIK TOPAKLANMASINI ÖNLEMEYE YÖNELİK AKIŞ SİSTEMİ
|
Manufacturing – İmalat
|
SABANCI ÜNİVERSİTESİ
|
Patent/Faydalı Model Tescil Edildi |
Görüntülemek için tıklayınız |
| 2025-11-17 17:44:42 |
polimer matrisli süper emici bir malzeme |
-9- |
sabancı üniversitesi |
sabancı üniversitesi |
2025 |
POLİMER MATRİSLİ SÜPER EMİCİ BİR MALZEME
|
Life Sciences – Yaşam Bilimleri
|
SABANCI ÜNİVERSİTESİ
|
Patent/Faydalı Model Tescil Edildi |
Görüntülemek için tıklayınız |
| 2025-11-17 18:23:24 |
yeni dna polimeraz gama inhibitörü ve kullanımları |
-7- |
sabancı üniversitesi |
sabancı üniversitesi |
2025 |
YENİ DNA POLİMERAZ GAMA İNHİBİTÖRÜ VE KULLANIMLARI
|
Healthcare – Sağlık Hizmeti
|
SABANCI ÜNİVERSİTESİ
|
Patent/Faydalı Model Tescil Edildi |
Görüntülemek için tıklayınız |
| 2025-11-17 18:45:31 |
makro-otofaji anomalilerini içeren hastalıkların teşhisi, korunması, tedavisi ve takibi için mirna kullanımı |
-7- |
sabancı üniversitesi |
sabancı üniversitesi |
2025 |
MAKRO-OTOFAJİ ANOMALİLERİNİ İÇEREN HASTALIKLARIN TEŞHİSİ, KORUNMASI, TEDAVİSİ VE TAKİBİ İÇİN MiRNA KULLANIMI
|
Healthcare – Sağlık Hizmeti
|
SABANCI ÜNİVERSİTESİ
|
Patent/Faydalı Model Tescil Edildi |
Görüntülemek için tıklayınız |
| 2025-11-17 18:52:34 |
antijen-spesifik fonksiyonel t-hücresi reseptörü kompleksini ifade eden doğal öldürücü hücreler, bunların üretim ve terapötik kullanımına yönelik yöntemler |
-7- |
sabancı üniversitesi |
sabancı üniversitesi |
2025 |
ANTİJEN-SPESİFİK FONKSİYONEL T-HÜCRESİ RESEPTÖRÜ KOMPLEKSİNİ İFADE EDEN DOĞAL ÖLDÜRÜCÜ HÜCRELER, BUNLARIN ÜRETİM VE TERAPÖTİK KULLANIMINA YÖNELİK YÖNTEMLER
|
Healthcare – Sağlık Hizmeti
|
SABANCI ÜNİVERSİTESİ
|
Patent/Faydalı Model Tescil Edildi |
Görüntülemek için tıklayınız |
| 2025-11-17 18:56:14 |
hidrodinamik kavitasyon problu bir sistoskopi cihazı ve sistemi |
-7- |
sabancı üniversitesi |
sabancı üniversitesi |
2025 |
HİDRODİNAMİK KAVİTASYON PROBLU BİR SİSTOSKOPİ CİHAZI VE SİSTEMİ
|
Healthcare – Sağlık Hizmeti
|
SABANCI ÜNİVERSİTESİ
|
Patent/Faydalı Model Tescil Edildi |
Görüntülemek için tıklayınız |
| 2025-11-17 19:00:42 |
giyilebilir grafen tekstil temelli elektro-oküler izleme ve nesne etkileşim sistemi |
-2- |
sabancı üniversitesi |
sabancı üniversitesi |
2025 |
GİYİLEBİLİR GRAFEN TEKSTİL TEMELLİ ELEKTRO-OKÜLER İZLEME VE NESNE ETKİLEŞİM SİSTEMİ
|
Electronics – Elektronik
|
SABANCI ÜNİVERSİTESİ
|
Patent/Faydalı Model Tescil Edildi |
Görüntülemek için tıklayınız |
| 2025-11-17 19:06:24 |
kontrollü salım sağlayan pestisit yüklü sera örtüsü |
-9- |
sabancı üniversitesi |
sabancı üniversitesi |
2025 |
KONTROLLÜ SALIM SAĞLAYAN PESTİSİT YÜKLÜ SERA ÖRTÜSÜ
|
Life Sciences – Yaşam Bilimleri
|
SABANCI ÜNİVERSİTESİ
|
Patent/Faydalı Model Tescil Edildi |
Görüntülemek için tıklayınız |
| 2025-11-17 19:10:29 |
heterojen yapıların üç boyutlu basımı için yöntem |
-11- |
sabancı üniversitesi |
sabancı üniversitesi |
2025 |
HETEROJEN YAPILARIN ÜÇ BOYUTLU BASIMI İÇİN YÖNTEM
|
Manufacturing – İmalat
|
SABANCI ÜNİVERSİTESİ
|
Patent/Faydalı Model Tescil Edildi |
Görüntülemek için tıklayınız |
| 2025-11-18 15:22:38 |
beyin kanaması sonrası hasarı azaltan bir stent |
-9- |
bahçeşehir üniversitesi teknoloji transfer ofisi |
bahçeşehir üniversitesi teknoloji transfer ofisi |
2025 |
BEYİN KANAMASI SONRASI HASARI AZALTAN BİR STENT
|
Life Sciences – Yaşam Bilimleri
|
Bahçeşehir Üniversitesi Teknoloji Transfer Ofisi
|
Patent/Faydalı Model Tescil Edildi |
Görüntülemek için tıklayınız |
| 2025-11-19 16:57:35 |
manyetik tabanlı esnek test kiti ve deri üzeri yama için bir üretim yöntemi |
-12- |
bahçeşehir üniversitesi teknoloji transfer ofisi |
bahçeşehir üniversitesi teknoloji transfer ofisi |
2025 |
MANYETİK TABANLI ESNEK TEST KİTİ VE DERİ ÜZERİ YAMA İÇİN BİR ÜRETİM YÖNTEMİ
|
Materials – Malzemeler
|
Bahçeşehir Üniversitesi Teknoloji Transfer Ofisi
|
Patent/Faydalı Model Tescil Edildi |
Görüntülemek için tıklayınız |
| 2025-11-20 09:25:02 |
robot destekli çerçevesiz stereotaktik beyin biyopsi sistemi |
-7- |
fırat teknokent teknoloji geliştirme bölgesi yönetici a.ş |
fırat teknokent teknoloji geliştirme bölgesi yönetici a.ş |
2025 |
ROBOT DESTEKLİ ÇERÇEVESİZ STEREOTAKTİK BEYİN BİYOPSİ SİSTEMİ
|
Healthcare – Sağlık Hizmeti
|
Fırat Teknokent Teknoloji Geliştirme Bölgesi Yönetici A.Ş
|
Diğer: PCT başvurusu yapıldı |
Görüntülemek için tıklayınız |
| 2025-11-20 09:28:16 |
termokimyasal borlamaya alternatif demir brorür(fe2b) alaşımı toz |
-12- |
fırat teknokent teknoloji geliştirme bölgesi yönetici a.ş |
fırat teknokent teknoloji geliştirme bölgesi yönetici a.ş |
2025 |
TERMOKİMYASAL BORLAMAYA ALTERNATİF DEMİR BRORÜR(FE2B) ALAŞIMI TOZ
|
Materials – Malzemeler
|
Fırat Teknokent Teknoloji Geliştirme Bölgesi Yönetici A.Ş
|
Diğer: PCT başvurusu yapıldı |
Görüntülemek için tıklayınız |
| 2025-11-20 09:37:46 |
temas patlamasına dayanıklı geogrit ile güçlendirilmiş beton yapı elemanı |
-11- |
fırat teknokent teknoloji geliştirme bölgesi yönetici a.ş |
fırat teknokent teknoloji geliştirme bölgesi yönetici a.ş |
2025 |
TEMAS PATLAMASINA DAYANIKLI GEOGRİT İLE GÜÇLENDİRİLMİŞ BETON YAPI ELEMANI
|
Manufacturing – İmalat
|
Fırat Teknokent Teknoloji Geliştirme Bölgesi Yönetici A.Ş
|
Diğer: PCT başvurusu yapıldı |
Görüntülemek için tıklayınız |
| 2025-11-20 09:41:22 |
yeni yarıiletken malzeme ve üretim yöntemi |
-2- |
fırat teknokent teknoloji geliştirme bölgesi yönetici a.ş |
fırat teknokent teknoloji geliştirme bölgesi yönetici a.ş |
2025 |
YENİ YARIİLETKEN MALZEME VE ÜRETİM YÖNTEMİ
|
Electronics – Elektronik
|
Fırat Teknokent Teknoloji Geliştirme Bölgesi Yönetici A.Ş
|
Diğer: PCT başvurusu yapıldı |
Görüntülemek için tıklayınız |
| 2025-11-20 09:44:08 |
parkinson hastaları için titreşim sönümleyici cihaz |
-7- |
fırat teknokent teknoloji geliştirme bölgesi yönetici a.ş |
fırat teknokent teknoloji geliştirme bölgesi yönetici a.ş |
2025 |
PARKİNSON HASTALARI İÇİN TİTREŞİM SÖNÜMLEYİCİ CİHAZ
|
Healthcare – Sağlık Hizmeti
|
Fırat Teknokent Teknoloji Geliştirme Bölgesi Yönetici A.Ş
|
Diğer: PCT başvurusu yapıldı |
Görüntülemek için tıklayınız |
| 2025-11-20 09:45:55 |
bası yaralarını önleyici/iyileştirici, biyobazlı, sıcaklık/nem duyarlı, antibakteriyal ve antifungal, akıllı yatak/sandalye pedi ve üretim yöntemi |
-7- |
fırat teknokent teknoloji geliştirme bölgesi yönetici a.ş |
fırat teknokent teknoloji geliştirme bölgesi yönetici a.ş |
2025 |
BASI YARALARINI ÖNLEYİCİ/İYİLEŞTİRİCİ, BİYOBAZLI, SICAKLIK/NEM DUYARLI, ANTİBAKTERİYAL VE ANTİFUNGAL, AKILLI YATAK/SANDALYE PEDİ VE ÜRETİM YÖNTEMİ
|
Healthcare – Sağlık Hizmeti
|
Fırat Teknokent Teknoloji Geliştirme Bölgesi Yönetici A.Ş
|
Diğer: PCT başvurusu yapıldı |
Görüntülemek için tıklayınız |
| 2025-11-20 09:47:31 |
canlı uterus içindeki gaz çeşitlerinin sensör teknolojisiyle belirlenmesini sağlayan karar destek sistemi: metrisör |
-7- |
fırat teknokent teknoloji geliştirme bölgesi yönetici a.ş |
fırat teknokent teknoloji geliştirme bölgesi yönetici a.ş |
2025 |
CANLI UTERUS İÇİNDEKİ GAZ ÇEŞİTLERİNİN SENSÖR TEKNOLOJİSİYLE BELİRLENMESİNİ SAĞLAYAN KARAR DESTEK SİSTEMİ: METRİSÖR
|
Healthcare – Sağlık Hizmeti
|
Fırat Teknokent Teknoloji Geliştirme Bölgesi Yönetici A.Ş
|
Diğer: PCT başvurusu yapıldı |
Görüntülemek için tıklayınız |
| 2025-11-20 09:52:54 |
synthesis and preparation method of graphene-doped carbon nanotube reinforced magnesium oxide nanocomposites |
-12- |
fırat teknokent teknoloji geliştirme bölgesi yönetici a.ş |
fırat teknokent teknoloji geliştirme bölgesi yönetici a.ş |
2025 |
Synthesis and Preparation Method of Graphene-Doped Carbon Nanotube Reinforced Magnesium Oxide Nanocomposites
|
Materials – Malzemeler
|
Fırat Teknokent Teknoloji Geliştirme Bölgesi Yönetici A.Ş
|
Diğer: PCT başvurusu yapıldı |
Görüntülemek için tıklayınız |
| 2025-11-20 09:54:51 |
klasik bilgisayarların kuantum bilgisayar gibi işletimine yönelik emülatör |
-8- |
fırat teknokent teknoloji geliştirme bölgesi yönetici a.ş |
fırat teknokent teknoloji geliştirme bölgesi yönetici a.ş |
2025 |
KLASİK BİLGİSAYARLARIN KUANTUM BİLGİSAYAR GİBİ İŞLETİMİNE YÖNELİK EMÜLATÖR
|
Infocomm – Bilişim
|
Fırat Teknokent Teknoloji Geliştirme Bölgesi Yönetici A.Ş
|
Diğer: PCT başvurusu yapıldı |
Görüntülemek için tıklayınız |
| 2025-11-20 09:56:44 |
konsantre güneş enerjisi sistemleri için bor bileşiği nanoparçacık katkılı erimiş tuzlar ve üretim yöntemi |
-3- |
fırat teknokent teknoloji geliştirme bölgesi yönetici a.ş |
fırat teknokent teknoloji geliştirme bölgesi yönetici a.ş |
2025 |
KONSANTRE GÜNEŞ ENERJİSİ SİSTEMLERİ İÇİN BOR BİLEŞİĞİ NANOPARÇACIK KATKILI ERİMİŞ TUZLAR VE ÜRETİM YÖNTEMİ
|
Energy – Enerji
|
Fırat Teknokent Teknoloji Geliştirme Bölgesi Yönetici A.Ş
|
Diğer: PCT başvurusu yapıldı |
Görüntülemek için tıklayınız |
| 2025-11-20 13:52:22 |
bir hava yastığı tertibatı |
-12- |
bahçeşehir üniversitesi teknoloji transfer ofisi |
bahçeşehir üniversitesi teknoloji transfer ofisi |
2025 |
BİR HAVA YASTIĞI TERTİBATI
|
Materials – Malzemeler
|
Bahçeşehir Üniversitesi Teknoloji Transfer Ofisi
|
Patent/Faydalı Model Tescil Edildi |
Görüntülemek için tıklayınız |
| 2025-11-20 16:50:42 |
ses emici biyomimetik tekstil lifi üretimi için kar tanelerinden esinlenilen düse |
-12- |
bahçeşehir üniversitesi teknoloji transfer ofisi |
bahçeşehir üniversitesi teknoloji transfer ofisi |
2025 |
Ses Emici Biyomimetik Tekstil Lifi Üretimi İçin Kar Tanelerinden Esinlenilen Düse
|
Materials – Malzemeler
|
Bahçeşehir Üniversitesi Teknoloji Transfer Ofisi
|
Patent Başvurusu Yapıldı |
Görüntülemek için tıklayınız |
| 2025-11-20 16:52:17 |
fe16n2 bileşiğinin kalıcı mıknatıs olarak üretilmesi |
-12- |
bahçeşehir üniversitesi teknoloji transfer ofisi |
bahçeşehir üniversitesi teknoloji transfer ofisi |
2025 |
Fe16N2 BİLEŞİĞİNİN KALICI MIKNATIS OLARAK ÜRETİLMESİ
|
Materials – Malzemeler
|
Bahçeşehir Üniversitesi Teknoloji Transfer Ofisi
|
Patent/Faydalı Model Tescil Edildi |
Görüntülemek için tıklayınız |
| 2025-11-20 16:54:24 |
hedefe yönelik kanser tedavisi için ökaryotik uzama faktörü 2 kinaz (eef2k) inhibitörü olarak etodolak türevi |
-7- |
bahçeşehir üniversitesi teknoloji transfer ofisi |
bahçeşehir üniversitesi teknoloji transfer ofisi |
2025 |
HEDEFE YÖNELİK KANSER TEDAVİSİ İÇİN ÖKARYOTİK UZAMA FAKTÖRÜ 2 KİNAZ (EEF2K) İNHİBİTÖRÜ OLARAK ETODOLAK TÜREVİ
|
Healthcare – Sağlık Hizmeti
|
Bahçeşehir Üniversitesi Teknoloji Transfer Ofisi
|
Patent/Faydalı Model Tescil Edildi |
Görüntülemek için tıklayınız |
| 2025-11-20 16:56:55 |
skolyoz tedavisinde uygulanacak hastaya özel schroth egzersizleri için bir cihaz ve bu cihazın çalışma yöntemi |
-7- |
bahçeşehir üniversitesi teknoloji transfer ofisi |
bahçeşehir üniversitesi teknoloji transfer ofisi |
2025 |
SKOLYOZ TEDAVİSİNDE UYGULANACAK HASTAYA ÖZEL SCHROTH EGZERSİZLERİ İÇİN BİR CİHAZ VE BU CİHAZIN ÇALIŞMA YÖNTEMİ
|
Healthcare – Sağlık Hizmeti
|
Bahçeşehir Üniversitesi Teknoloji Transfer Ofisi
|
Patent Başvurusu Yapıldı |
Görüntülemek için tıklayınız |
| 2025-11-20 16:58:40 |
ercc1/xpf inhibitörü ercc1-drg1 bileşiği |
-7- |
bahçeşehir üniversitesi teknoloji transfer ofisi |
bahçeşehir üniversitesi teknoloji transfer ofisi |
2025 |
ERCC1/XPF İNHİBİTÖRÜ ERCC1-DRG1 BİLEŞİĞİ
|
Healthcare – Sağlık Hizmeti
|
Bahçeşehir Üniversitesi Teknoloji Transfer Ofisi
|
Patent Başvurusu Yapıldı |
Görüntülemek için tıklayınız |
| 2025-11-20 16:59:38 |
bir ekspiratuar solunum egzersiz cihazı |
-7- |
bahçeşehir üniversitesi teknoloji transfer ofisi |
bahçeşehir üniversitesi teknoloji transfer ofisi |
2025 |
BİR EKSPİRATUAR SOLUNUM EGZERSİZ CİHAZI
|
Healthcare – Sağlık Hizmeti
|
Bahçeşehir Üniversitesi Teknoloji Transfer Ofisi
|
Patent/Faydalı Model Tescil Edildi |
Görüntülemek için tıklayınız |